EasyManua.ls Logo

Hisun HS700UTV-4 - Troubleshooting

Hisun HS700UTV-4
388 pages
Print Icon
To Next Page IconTo Next Page
To Next Page IconTo Next Page
To Previous Page IconTo Previous Page
To Previous Page IconTo Previous Page
Loading...
ELECTRICAL COMPONENTS
- 319 -
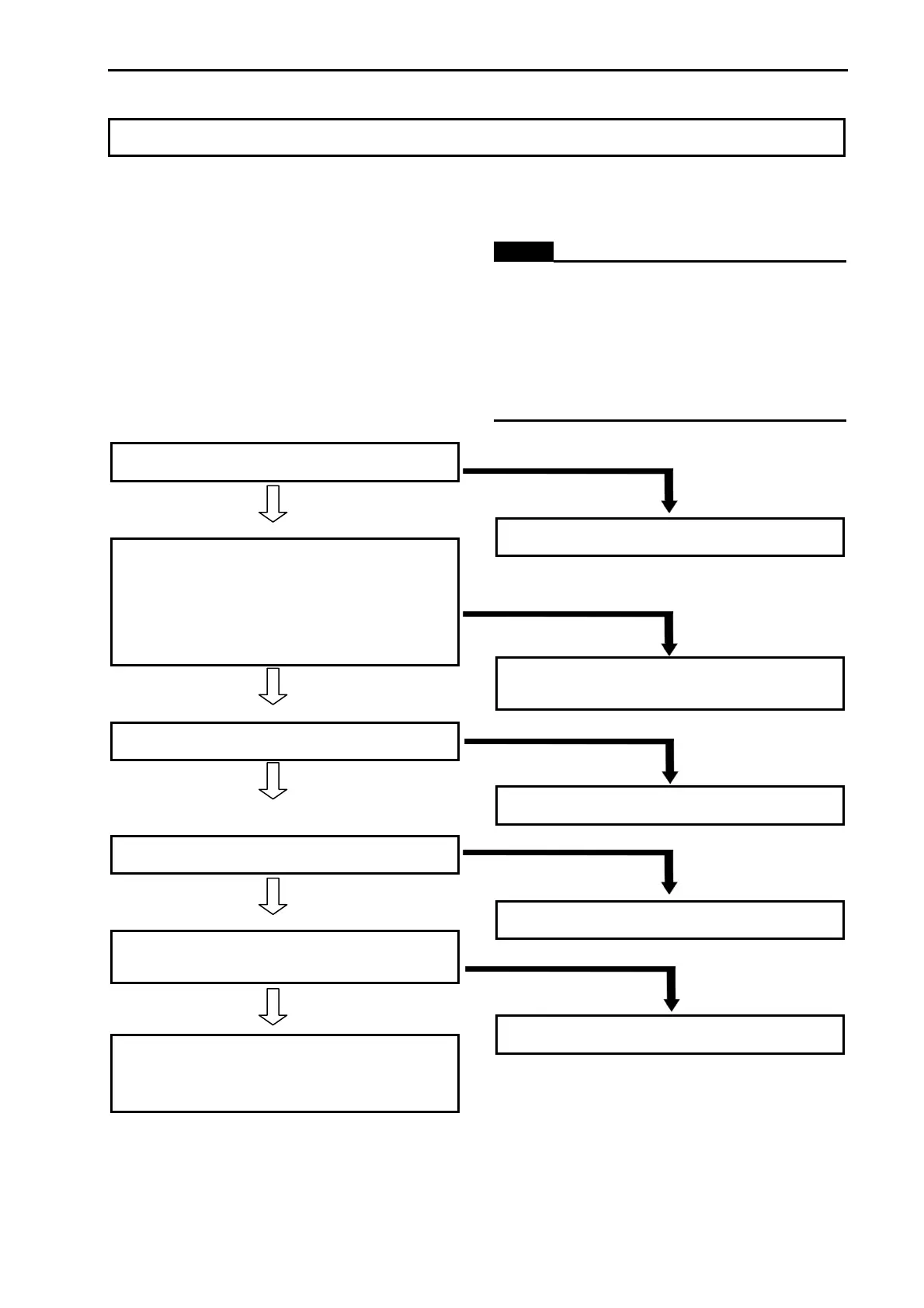
Procedure
Check
1. Fuses (main, lighting system)
2. Battery
3. Main switch
1. Fuses (main, lighting system)
Refer to “CHECKING THE SWITCH”.
CONTINUITY
2. Battery
• Check the battery condition. Refer to
“CHECKING AND CHARGING THE
BATTERY” in chapter 3.
Open-circuit voltage
12.8 V or more at 20 °C (68 °F)
CORRECT
3. Main switch
Refer to “CHECKING THE SWITCH”.
CORRECT
4.Light switch
Refer to “CHECKING THE SWITCH”.
CORRECT
5. Wiring connection
• Check the connections of the entire lighting
system. Refer to “CIRCUIT DIAGRAM”.
CORRECT
Check the condition of each of the lighting
system’s circuits. Refer to “CHECKING THE
LIGHTING SYSTEM”.
4. Light switch
5. Wiring connections(the entire lighting system)
1NOTE:
Remove the following part(s) before
troubleshooting:
1. Console
2. Front luggage carrir
3. Front covering parts
• Use special tool(s) for troubleshooting.
NO CONTINUITY
Replace the fuse(s).
INCORRECT
• Clean the battery terminals.
• Recharge or replace the battery
INCORRECT
Replace the main switch.
INCORRECT
Replace the light switch.
POOR CONNECTION
Properly connect the lighting system.
TROUBLESHOOTING
IF THE HEADLIGHT AND/OR TAILLIGHT FAIL TO COME ON:

Table of Contents

Related product manuals