EasyManua.ls Logo

Hisun HS700UTV-4 - Lighting System; Circuit Diagram

Hisun HS700UTV-4
388 pages
Print Icon
To Next Page IconTo Next Page
To Next Page IconTo Next Page
To Previous Page IconTo Previous Page
To Previous Page IconTo Previous Page
Loading...
ELECTRICAL COMPONENTS
- 318 -
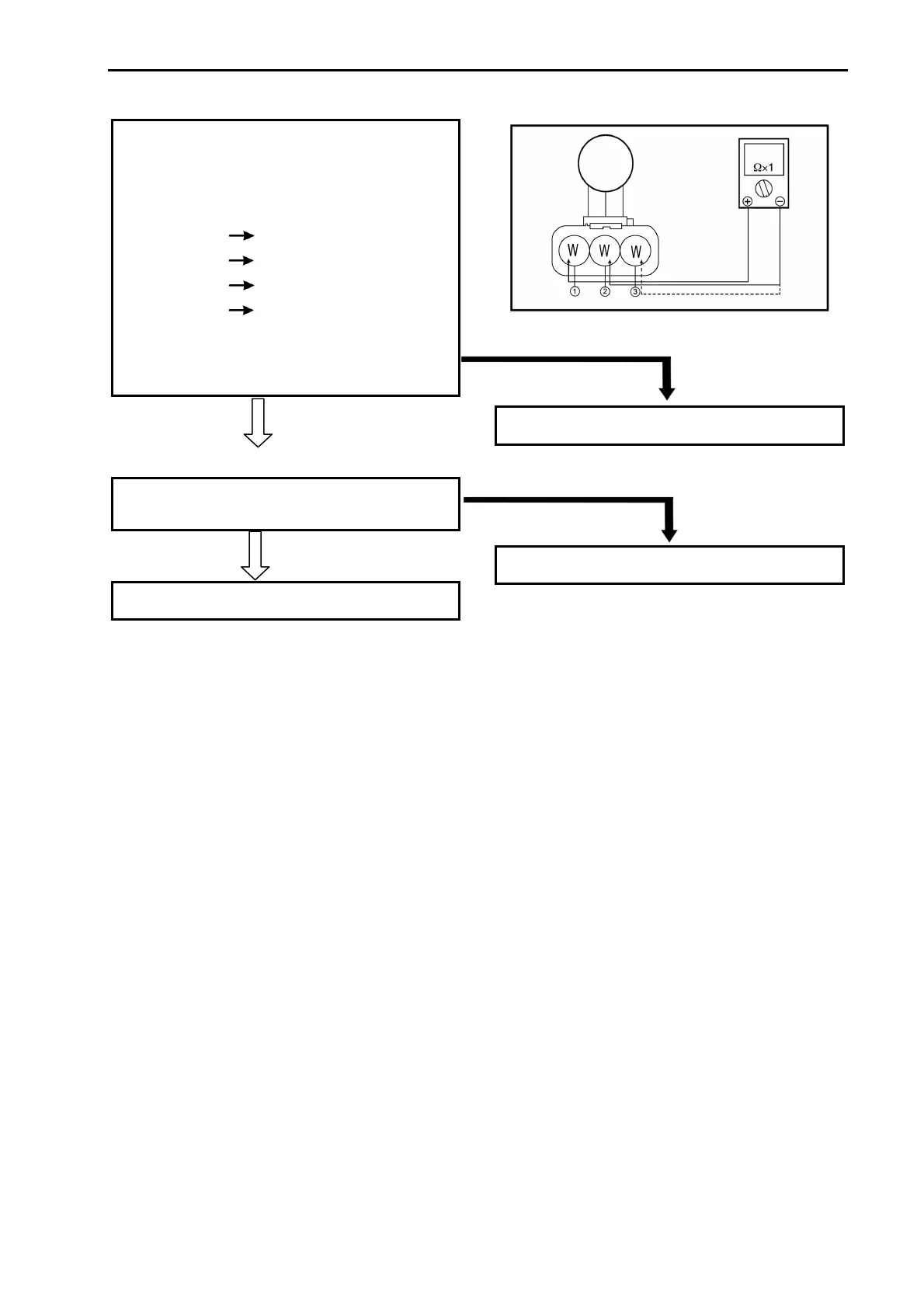
4. Charging coil resistance
• Disconnect the A.C. magneto coupler from
the wire harness.
• Connect the pocket tester ( × 1) to the
charging coils.
Tester (+) lead
White terminal
Tester (–) lead
White terminal
Tester (+) lead
White terminal
Tester (–) lead
White terminal
• Measure the charging coil resistance.
Charging coil resistance
0.32 ~ 0.43 at 20 °C (68 °F)
MEETS SPECIFICATION
5. Wiring connections
• Check the connections of the entire charging
system. Refer to “CIRCUIT DIAGRAM”.
CORRECT
Replace the rectifier/regulator.
LIGHTING SYSTEM
Circuit diagram
See 372 page
OUT OF SPECIFICATION
Replace the pickup coil/stator assembly.
POOR CONNECTION
Properly connect the charging system.

Table of Contents

Related product manuals