EasyManua.ls Logo

Hisun HS700UTV-4 - Page 337

Hisun HS700UTV-4
388 pages
Print Icon
To Next Page IconTo Next Page
To Next Page IconTo Next Page
To Previous Page IconTo Previous Page
To Previous Page IconTo Previous Page
Loading...
ELECTRICAL COMPONENTS
- 324 -
2. If the neutral lights fail to come on:
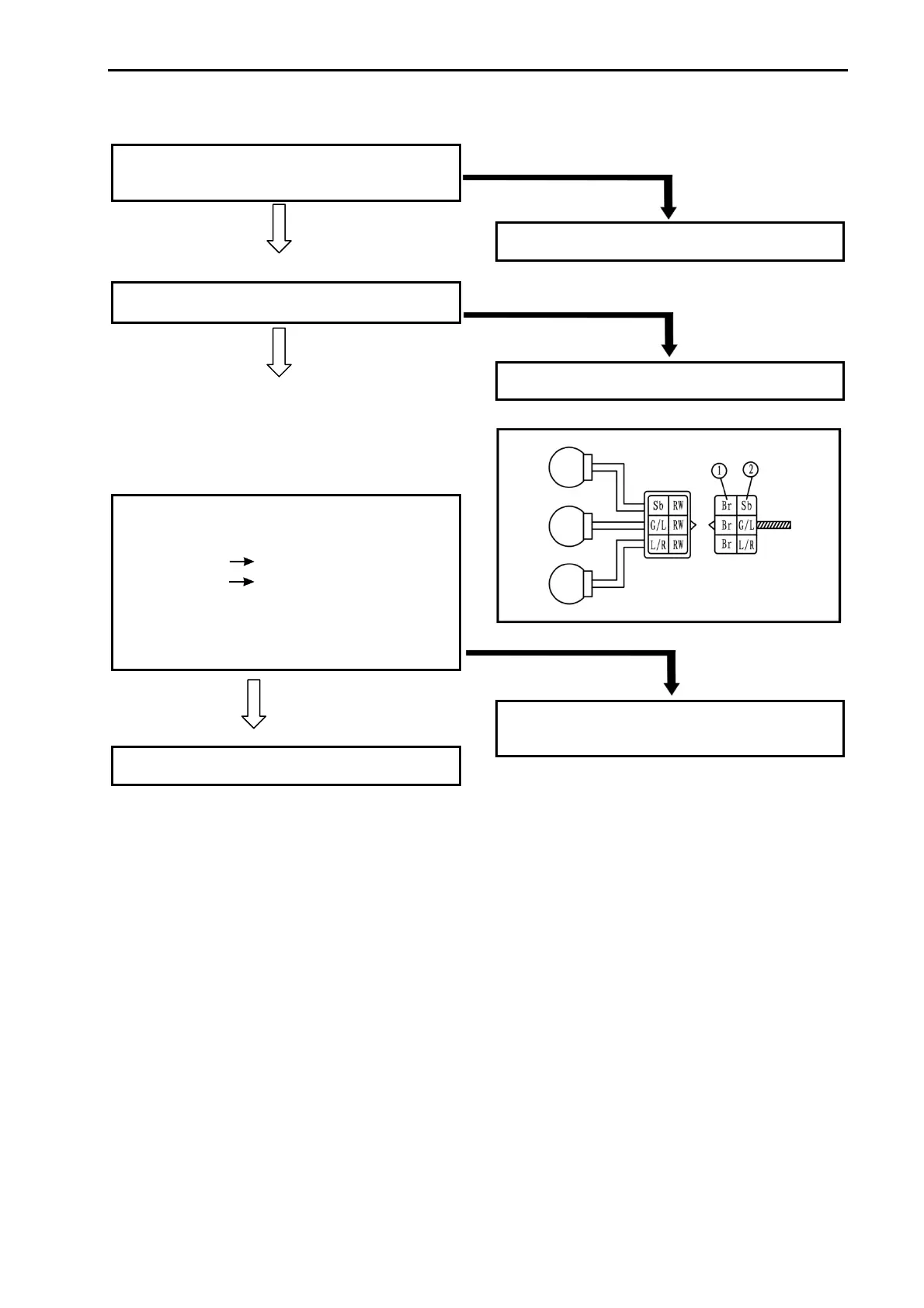
(1). Bulb and bulb socket
• Check the bulb and bulb socket for continuity.
CONTINUITY
(2). Gear position switch
Refer to “CHECKING THE SWITCH”.
CONTINUITY
(3). Voltage
• Connect the pocket tester (DC 20 V) to the
indicator light assembly 2 coupler..
Tester (+) lead
Brown terminal
Tester (–) lead
Sky blue terminal
• Turn the main switch to “ON”.
• Check the voltage (12 V)
MEETS SPECIFICATION
This circuit is not faulty.
NO CONTINUITY
Replace the bulb and/or bulb socket.
NO CONTINUITY
Replace the gear position switch
OUT OF SPECIFICATION
The wiring circuit from the main switch to the
bulb socket connector is faulty, repair it.

Table of Contents

Related product manuals