EasyManua.ls Logo

Maeda MC-305C-2 - Page 19

Maeda MC-305C-2
358 pages
Print Icon
To Next Page IconTo Next Page
To Next Page IconTo Next Page
To Previous Page IconTo Previous Page
To Previous Page IconTo Previous Page
Loading...
1-11
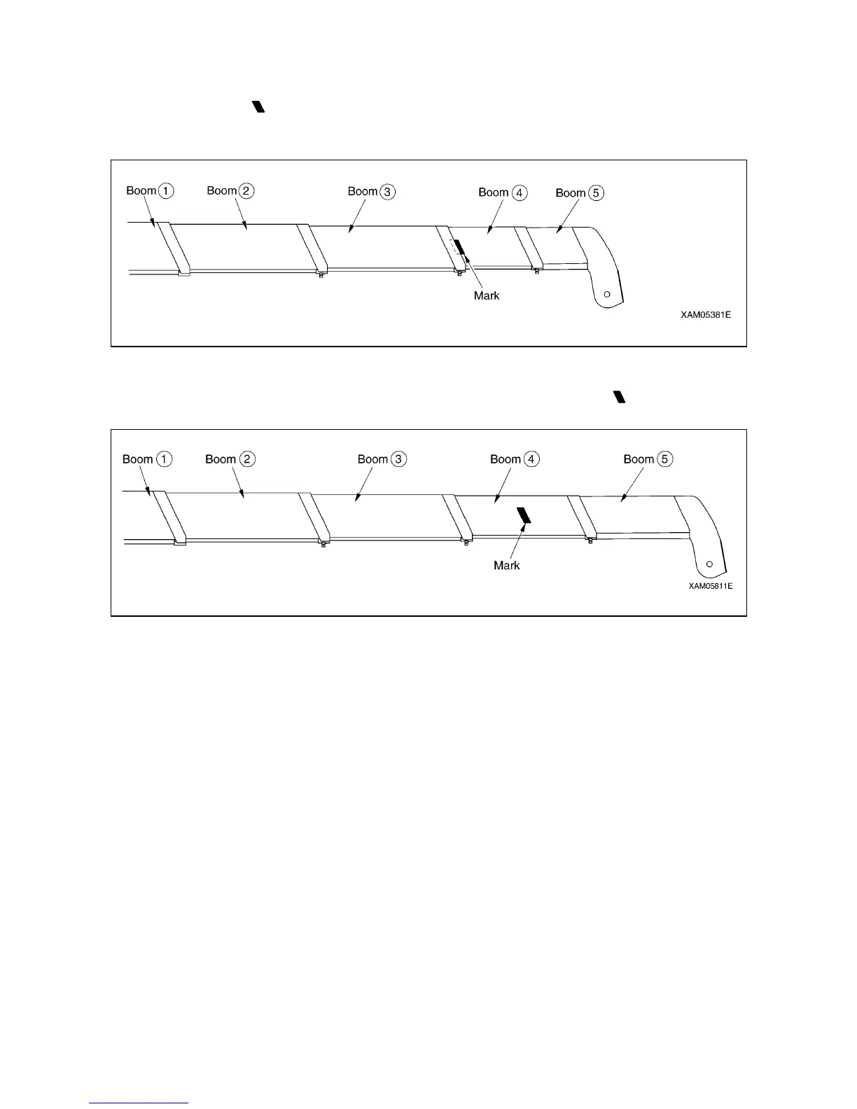
4. “Boom (1) + (2) + (3) + (4)”: With booms (2) and (3) fully extended, booms (4) and (5) are extended
midway (half of the “
mark” passes boom (3)).
“Boom (1) + (2) + (3) + (4)” is to apply to crane operation with booms (4) and (5) extended even if only
slightly.
5. “Boom (1) + (2) + (3) + (4) + (5)”: All the booms are fully extended.
“Boom (1) + (2) + (3) + (4) + (5)” is to apply to crane operation with half of the “
mark” on boom (4)
passes boom (3).

Table of Contents

Other manuals for Maeda MC-305C-2

Related product manuals