EasyManua.ls Logo

Maeda MC-305C-2 - An Example for Setting in the a Mode

Maeda MC-305C-2
358 pages
Print Icon
To Next Page IconTo Next Page
To Next Page IconTo Next Page
To Previous Page IconTo Previous Page
To Previous Page IconTo Previous Page
Loading...
6-24
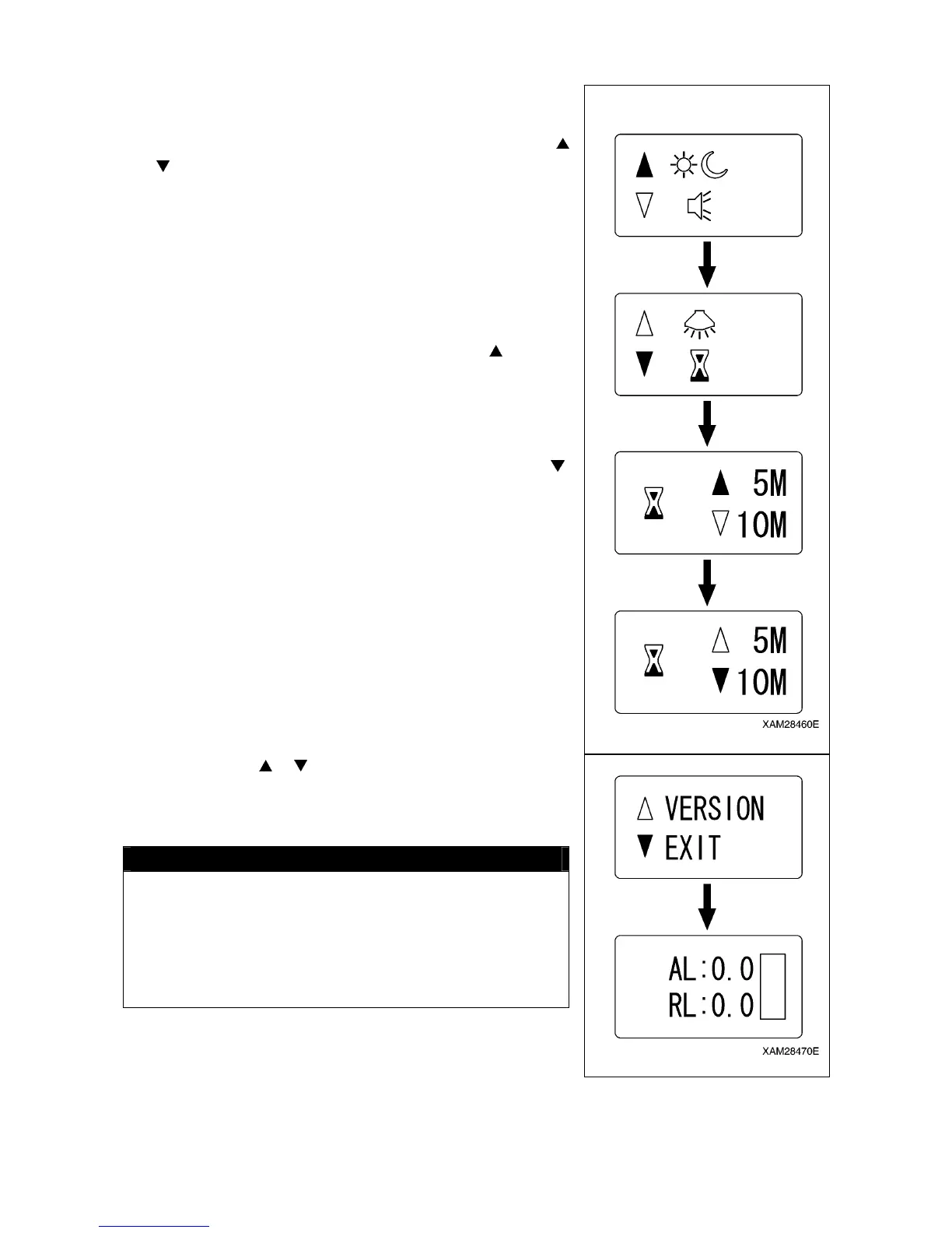
6.1.3 AN EXAMPLE FOR SETTING IN THE A MODE
Hereunder is a procedure to change the time of the “OFF timer”,
from “5 minutes” of the factory setting, to 10 minutes:
1. Use the Hook raising and lowering lever and shift the cursor (
or
) to the side of the function item to change.
2. When the cursor comes to the side of the “OFF timer”, push the
Hook stow/Setting button.
Now, the “OFF timer” is selected and the cursor ( ) appears
next to ”5 minutes”, as the current value.
3. Use the Hook raising and lowering lever so that the cursor (
)
comes to the side of “10 minutes”, then push the Hook
stow/Setting button.
Now, the “OFF timer” setting is 10 minutes.
4. Shift the cursor (
or ) using the Hook raising and lowering
lever and select “EXIT”, then push the Hook stow/Setting button.
Now the mode exits from the “A MODE” and is turned to the
“CRANE MODE”.
CAUTION
• Once setting-up the desired function item is completed,
do not forget to practice the termination procedure, above.
Otherwise, when this process is not correctly terminated,
the latest setting will not be valid.
• Change of the other function item setting is available by
the same procedure. In such event, correctly exit from the
A MODE, without fail.
A MODE SETTING LCD SCREEN

Table of Contents