EasyManua.ls Logo

Multiplex Profi TX - Page 188

Multiplex Profi TX
227 pages
Print Icon
To Next Page IconTo Next Page
To Next Page IconTo Next Page
To Previous Page IconTo Previous Page
To Previous Page IconTo Previous Page
Loading...
Creating and customising models
PROFI TX
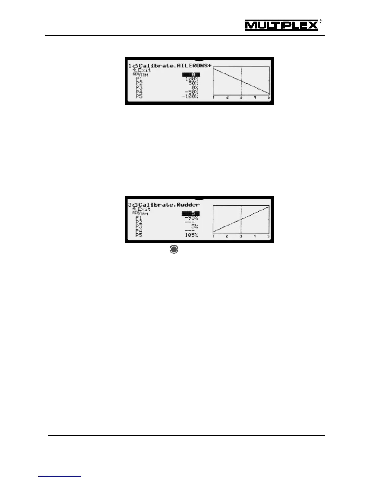
2. Open the REV/TRM parameter and set aileron travel to the left.
If the left aileron does not move up, reverse the servo using the
REV/CLR button.
3. Move the aileron stick to the centre position. Move the control surface
to the neutral position using the central wheel or the + / buttons.
The setting range is +/-10%. Offsets exceeding 5% should be
corrected mechanically.
4. Open the input field P1.
5. Press the button: .
Both ailerons move to maximum.
6. Choose a P1 setting so that the left aileron (servo 1) stops a little way from the
mechanical stop.
7. Now open P5.
8. Press the F button.
Both ailerons move to the opposite maximum.
9. Set the positive travel on the left aileron (servo 1) to a safe value.
10. You can use the points P2 and P4 to linearise the control curve, if required.
P3 shifts the neutral position without changing the other points.
11. Open the Servo > Calibrate > 5: AILERONS+ menu.
12. Open the REV/TRM parameter and set aileron travel to the right.
If the left aileron does not move up, reverse the servo using the
REV/CLR button.
13. Move the aileron stick to the centre position. Move the control surface to
the neutral position using the central wheel or the + / buttons.

Table of Contents

Other manuals for Multiplex Profi TX

Related product manuals