EasyManua.ls Logo

Ricoh D129 - Page 1200

Ricoh D129
1402 pages
Print Icon
To Next Page IconTo Next Page
To Next Page IconTo Next Page
To Previous Page IconTo Previous Page
To Previous Page IconTo Previous Page
Loading...
Video Data Path
D629 182 SM
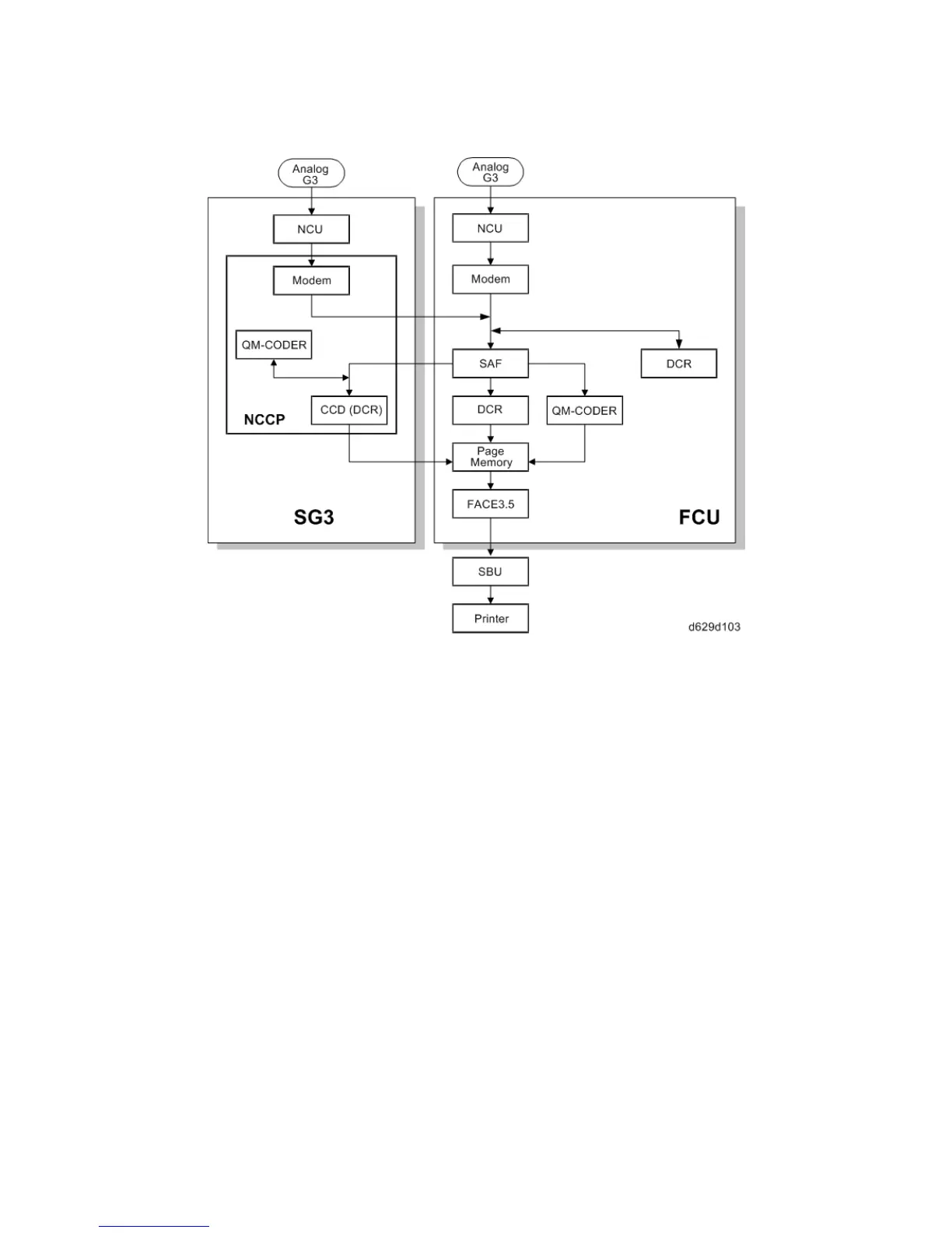
5.3.2 RECEPTION
First, the FCU stores the incoming data from either an analog line to the SAF memory. (The data
goes to the FACE3 at the same time, and is checked for error lines/frames.)
The FCU then decompresses the data and transfers it to page memory. If image rotation will be
done, the image is rotated in the page memory. The data is transferred to the IPU.
If the optional G3 unit is installed, the line that the message comes in on depends on the
telephone number dialled by the other party (the optional G3 unit has a different telephone
number from the main fax board).
JBIG Reception
When data compressed with JBIG comes in on PSTN-1 (the standard analog line), the data is
sent to the QM-CODER for decompression. Then the data is stored in the page memory, and
transferred to the IPU.
When data compressed with JBIG comes in on PSTN-2 (optional extra analog line), the data is
sent to the QM-CODER on the SG3 board for decompression.

Table of Contents

Other manuals for Ricoh D129

Related product manuals