EasyManua.ls Logo

Schweitzer Engineering SEL-351P - Page 135

Default Icon
674 pages
Print Icon
To Next Page IconTo Next Page
To Next Page IconTo Next Page
To Previous Page IconTo Previous Page
To Previous Page IconTo Previous Page
Loading...
Date Code 990215 Factory-Set Logic 1-39
SEL-351P Manual Técnico
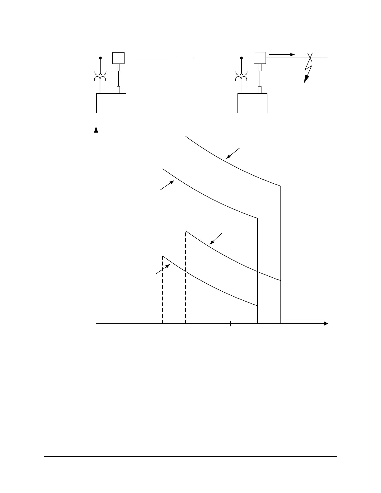
Fast curve - phase
[SEL-351P(2)]
I
F
F
I
I
51P1
t
Fast curve - phase
[51P1T; (SEL-351P(1)]
Delay curve - phase
[SEL-351P(2)]
Delay curve - phase
[SEL-351P(1)]
SEL-
351P(1)
SEL-
351P(2)
DWG: M351P034
11
Figure SECTION 1: .28: Phase Coordination of SEL-351Ps in Series

Table of Contents