EasyManua.ls Logo

Schweitzer Engineering SEL-351P - Reclose Supervision Logic

Default Icon
674 pages
Print Icon
To Next Page IconTo Next Page
To Next Page IconTo Next Page
To Previous Page IconTo Previous Page
To Previous Page IconTo Previous Page
Loading...
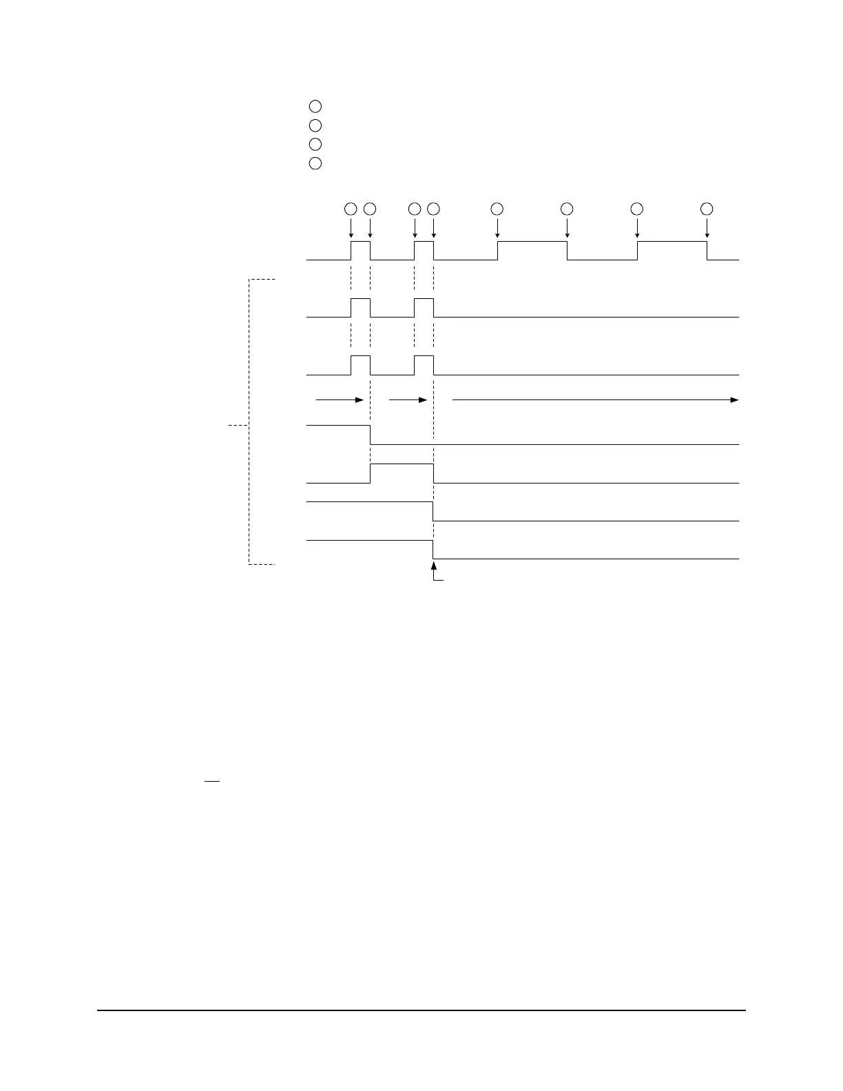
1-40 Factory-Set Logic Date Code 990215
SEL-351P Manual Técnico
012
Fast curve - phase [51P1T; SEL-351P (1)] is disabled
Shot
Counter
79SEQ
51P1
Phase fault
beyond
SEL-351P(2)
SHO
SH1
OCP
51P1TC
Response of
SEL-351P(1)
2321 43 43
1
Fault occurs beyond SEL-351P(2)
2
Fault cleared by SEL-351P(2) Fast curve - phase
3
SEL-351P(2) recloses into fault
4
Fault cleared by SEL-351P(2) Delay curve - phase
DWG: M351P035
Figure SECTION 1: .29: Operation of SEL-351P(1) Sequence Coordination Logic for
Phase Fault Beyond Downstream SEL-351P(2)
R
ECLOSE
S
UPERVISION
L
OGIC
See Figure SECTION 1: .30. After a reclose interval times out, a final check is made of the
reclose supervision logic before the SEL-351P auto-recloses the recloser. For auto-reclosing to
proceed, all
the following conditions must be met:
Trip and reclose capacitors charged
Healthy battery
After a reclose interval times out, the logic in
Figure SECTION 1: .30 is final checked for a time
period equivalent to EZ setting Close power wait time (corresponding setting 79CLSD – see
Figure 6.2). If SEL
OGIC
setting 79CLS (reclose supervision) asserts to logical 1 any time during
this time period, auto-reclosing proceeds.
Note that the reclose supervision logic in
Figure SECTION 1: .30 uses some of the same logic
that drives the BATERIA PROBLEMA LED (see
Figure SECTION 1: .45).

Table of Contents