EasyManua.ls Logo

TOHATSU BFT75A - Page 588

TOHATSU BFT75A
609 pages
Print Icon
To Next Page IconTo Next Page
To Next Page IconTo Next Page
To Previous Page IconTo Previous Page
To Previous Page IconTo Previous Page
Loading...
20-3
dummyheaddummyhead
TECHNICAL FEATURES
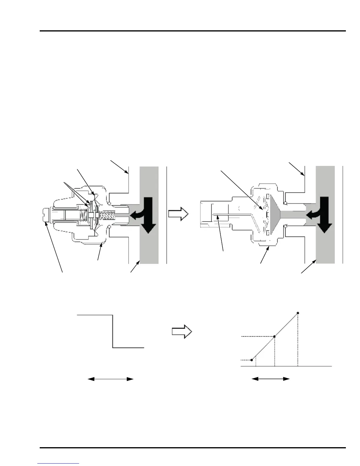
EOP SENSOR
A conventional EOP switch is an ON/OFF pressure switch, which includes a mechanical contact, that turns ON when the oil
pressure is below a specified value and turns OFF when the pressure is above a specified value.
The EOP sensor includes a piezoelectric device which converts the electronic signals into voltage, which ranges from 0 to 5 V, and
transmits to the ECM. The electronic resistance of the piezoelectric device changes in accordance with the oil pressure, sending a
smaller signal when the oil pressure is low and a larger signal when the oil pressure is high.
0 V
5 V
VOLTAGE
PIEZOELECTRIC
DEVICE
EOP SENSOR
TERMINAL
EOP SENSOR
OIL PASSAGE
DIAPHRAGM
EOP SWITCH
CONTACT
CYLINDER BLOCK
EOP SWITCH TERMINAL
ON
HIGHLOW
OFF
OIL PRESSURE
FIXED OIL
PRESSURE VALUE
CONVENTIONAL SYSTEM
WITH EOP SWITCHES:
NEW SYSTEM WITH EOP SENSOR:
CYLINDER BLOCK
OIL PASSAGE
HIGHLOW
OIL PRESSURE

Table of Contents

Related product manuals