EasyManua.ls Logo

Topcon KR-1W - Page 28

Topcon KR-1W
216 pages
Print Icon
To Next Page IconTo Next Page
To Next Page IconTo Next Page
To Previous Page IconTo Previous Page
To Previous Page IconTo Previous Page
Loading...
26
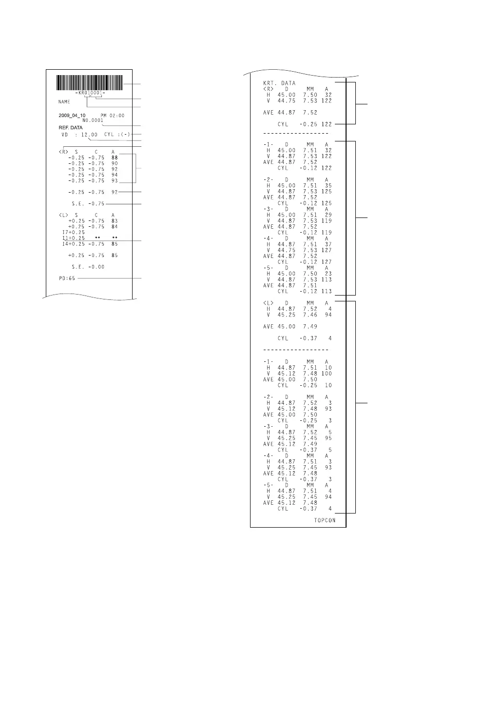
COMPONENTS
WHEN THE SETTING OF "KRT PRINT TYPE" IS CLASSIC:
<R/K> MODE
Patient No.
Instrument No.
VD (vertex distance)
Cylindrical power mark
Results of 5 refractory power mea-
surements of right eye (recordable
up to 10 measurements)
Results of 5 right eye cor
-
neal curvature measure
-
ments of right eye
,
average value and astig
-
matic power of cornea
(recordable up to 10
measurements each fo
r
right/left eye)
Typical measured value
of right eye corneal
curvature
Measured value of left ey
e
SPHERICAL EQUIVALENT
of right eye
Right
eye measurements
Barcode
PD value
ALL mode (example)
Work ID No.
Typical value of right eye
When measurement is taken
after changing the Hartmann
exposure time, I mark will be
printed out.

Table of Contents

Other manuals for Topcon KR-1W

Related product manuals