EasyManua.ls Logo

Topcon TRK-3 OMNIA - Page 25

Topcon TRK-3 OMNIA
148 pages
Print Icon
To Next Page IconTo Next Page
To Next Page IconTo Next Page
To Previous Page IconTo Previous Page
To Previous Page IconTo Previous Page
Loading...
23
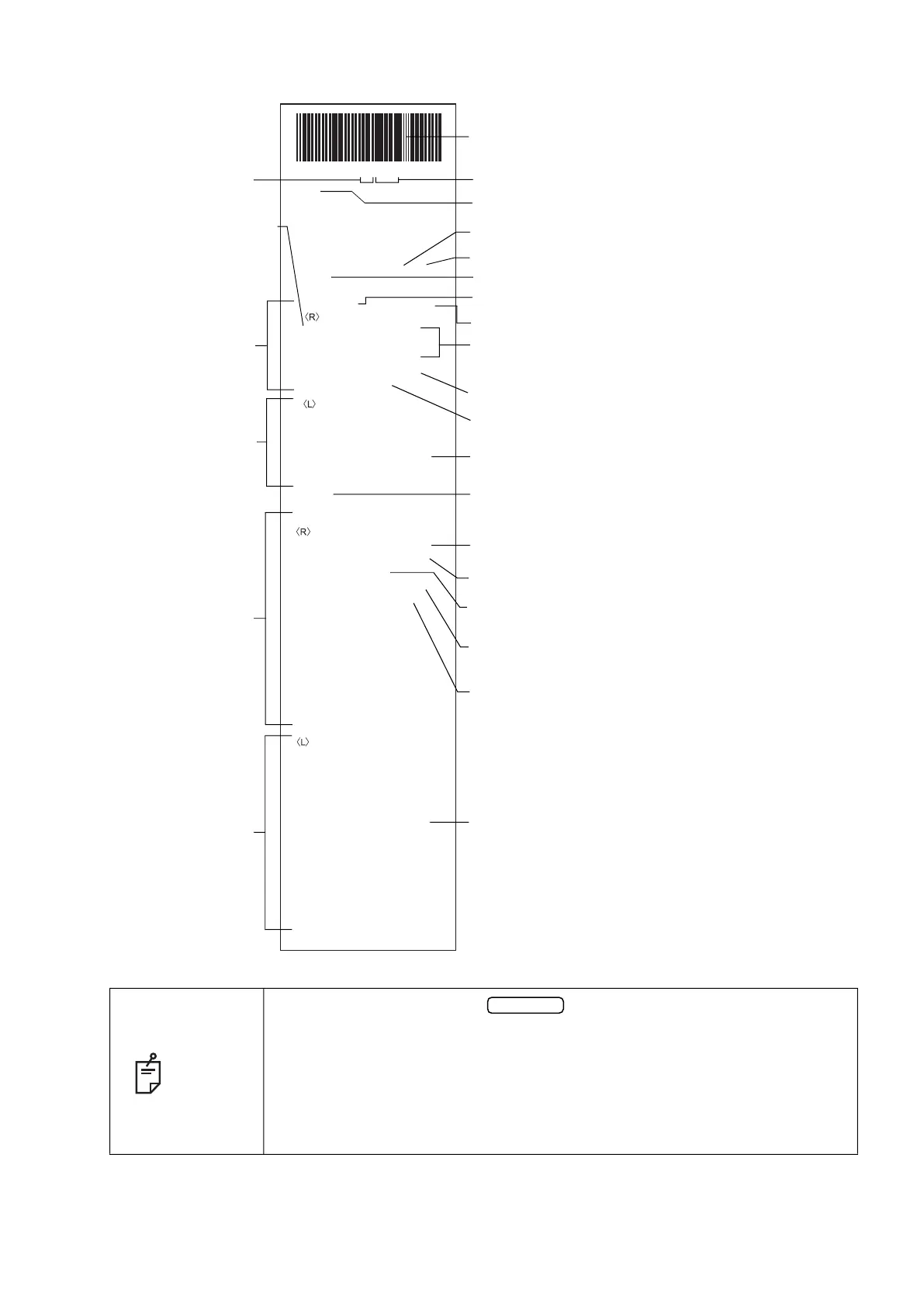
COMPONENTS
KRT typical value style and KRT print data are R1R2
NOTE
C mark appears when the button is selected by manual
operation.
Adding the C mark occurs only for REF measurement values.
The ( ) mark is attached when the measurement cannot be performed
normally due to cataract, eyelids, eyelashes, blinking, etc. and the mode
automatically switches to cataract mode.
The ( ) mark appears only on REF measurements.
NAME
REF. DATA
S
-0.25 -0.75 88
-0.25 -0.75 90
CYL : ( - )
CA
VD : 12.00
PD : 65
2021_ 12_24 10 : 00 AM
N o . 0 0 0 1 01
-TRK 010602-
-0.25 -0.75 90
S.E. -0.25
S.E. -0.75
-0.25 -0.75 90
S
+0.25
(
)
-0.75 88
+0.25 -0.75 90
CA
+0.25 -0.75 90
+0.25 -0.75
-0.75
90
-0.25+0.25 90
90
KRT.DATA
CORNEA DIA : 12.00
CORNEA DIA : 12.00
D
R1 43.25 7.85 91
43.25 7.72
43.50 7.59 1
R2
R1-R2 -0.25
-0.25
91
AVG
43.50 7.71AVG
R1-R2
MM A
MM1 MM2 A1
Ŷ 1 Ŷ
Ŷ 2 Ŷ
Ŷ 3 Ŷ
7.85 7.57 91
91
-0.25
43.25 7.79AVG
R1-R2
166
-0.25
AVG
R1-R2
169
-0.25
43.25 7.79AVG
R1-R2
168
-0.25
43.25 7.72AVG
R1-R2
91
-0.25
43.25 7.72AVG
R1-R2
91
7.85 7.59 91
7.85 7.59 91
MM1 MM2 A1
Ŷ 1 Ŷ
Ŷ 2 Ŷ
Ŷ 3 Ŷ
7.80 7.77 166
7.80 7.77 168
7.80 7.77 169
43.25 7.79
TOPCON
D
R1 43.25 7.80 168
43.25 7.79
43.50 7.77 78
R2
R1-R2 -0.25 168
AVG
MM A
OID :
SN:
C
C
C
Barcode
Patient No. (Patient ID when patient ID is input)
Device ID number
VD (vertex distance)
Cylinder sign
3 readings of REF right measurement
(recordable up to 10 measurements)
Typical value of right eye
Spherical equivalent power of right eye
The ( ) mark appears when the mode is changed to the cataract
mode automatically during a measurement.
Pupil distance (PD value) (mm)
Measured value of flat meridian corneal curvature
Measured value of steep meridian corneal curvature
D: Average value of corneal refractive power
MM: Average value of cornea curvature radius
Difference in corneal refractive power between flat and steep
meridian and direction of corneal flat meridian
Measured value of right eye cornea diameter (mm)
Result of
refractory power
measurement
(Right eye)
Result of
refractory power
measurement
(Left eye)
KRT data
(Right eye)
KRT data
(Left eye)
MM1: Corneal curvature radius at flat meridian
MM2: Corneal curvature radius at steep meridian
A1: Direction of flat meridian
Operator ID
Serial number
C mark appears when
the mode is changed
to the cataract mode
manually during a
measurement.
Patient No.
Device ID number
Cataract

Table of Contents

Related product manuals