EasyManua.ls Logo

Toro Workman HDX Auto - Using Bed Safety Support

Toro Workman HDX Auto
280 pages
Print Icon
To Next Page IconTo Next Page
To Next Page IconTo Next Page
To Previous Page IconTo Previous Page
To Previous Page IconTo Previous Page
Loading...
Workman HDX Auto
Page 1 − 6
Safety
Using Bed Safety Support
Many of the procedures shown in this manual re-
quire raising and lowering the bed. The following
precautions must be taken or serious injury or
death could result.
Before servicing or making adjustments to the
vehicle, stop engine, engage parking brake and
remove key from ignition switch. Any load mate-
rial must be removed from bed or other attach-
ment before working under raised bed. Never
work under a raised bed without positioning bed
safety support on a fully extended cylinder rod.
WARNING
After work is completed, remove bed safety sup-
port, insert safety support into storage brackets on
back of ROPS panel and lower bed.
1. Raise bed until lift cylinders are fully extended.
2. Remove bed safety support from storage brackets
on back of ROPS panel.
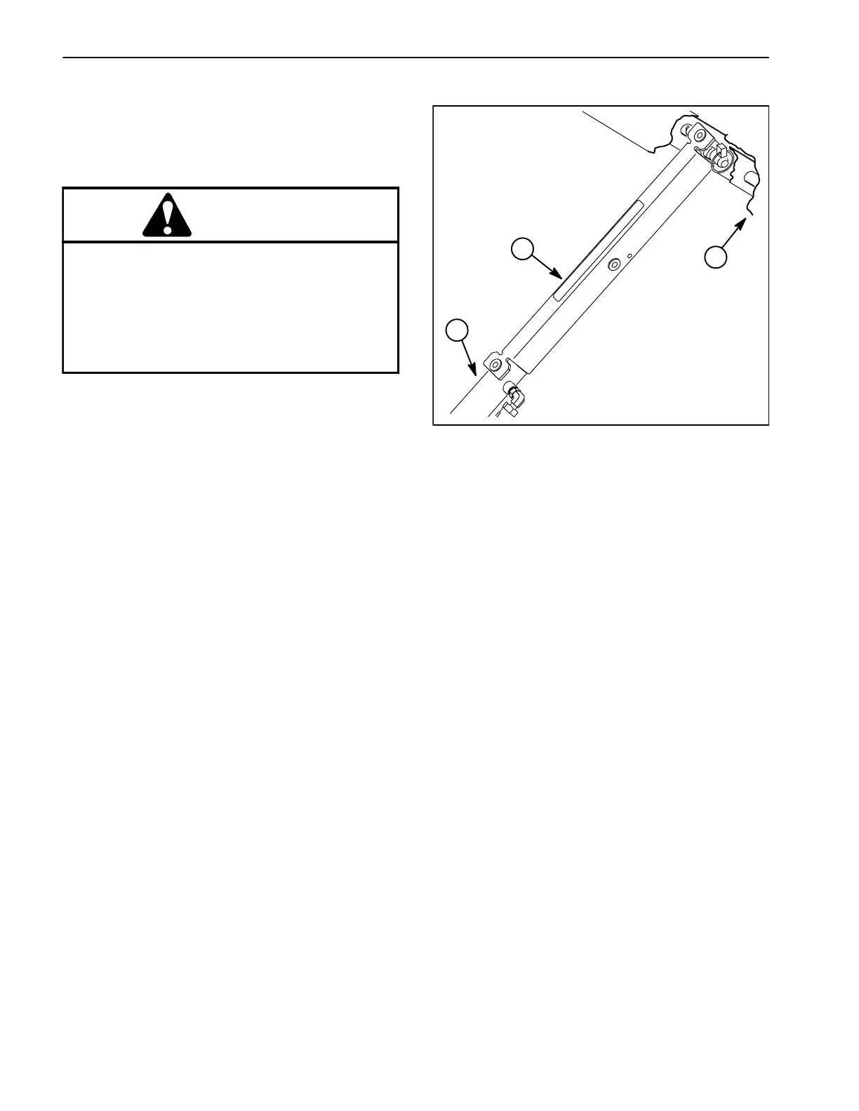
3. Push bed safety support onto cylinder rod, making
sure support end tabs rest on end of cylinder barrel and
on cylinder rod end (Fig. 3).
4. To store bed safety support, remove support from lift
cylinder and insert into storage brackets on back of
ROPS panel.
5. Always install or remove bed safety support from
outside of bed.
6. Do not try to lower bed with bed safety support on lift
cylinder: cylinder and bed damage may occur.
Figure 3
1. Bed safety support
2. Cylinder barrel
3. Bed
1
2
3
Safety and Instruction Decals
Numerous safety and instruction decals are affixed to
the Workman HDX Auto vehicle. If any decal becomes
illegible or damaged, install a new decal. Decal part
numbers are listed in your Parts Catalog.

Table of Contents

Related product manuals