EasyManua.ls Logo

Toro Workman HDX Auto - Hydraulic Circuit Operation

Toro Workman HDX Auto
280 pages
Print Icon
To Next Page IconTo Next Page
To Next Page IconTo Next Page
To Previous Page IconTo Previous Page
To Previous Page IconTo Previous Page
Loading...
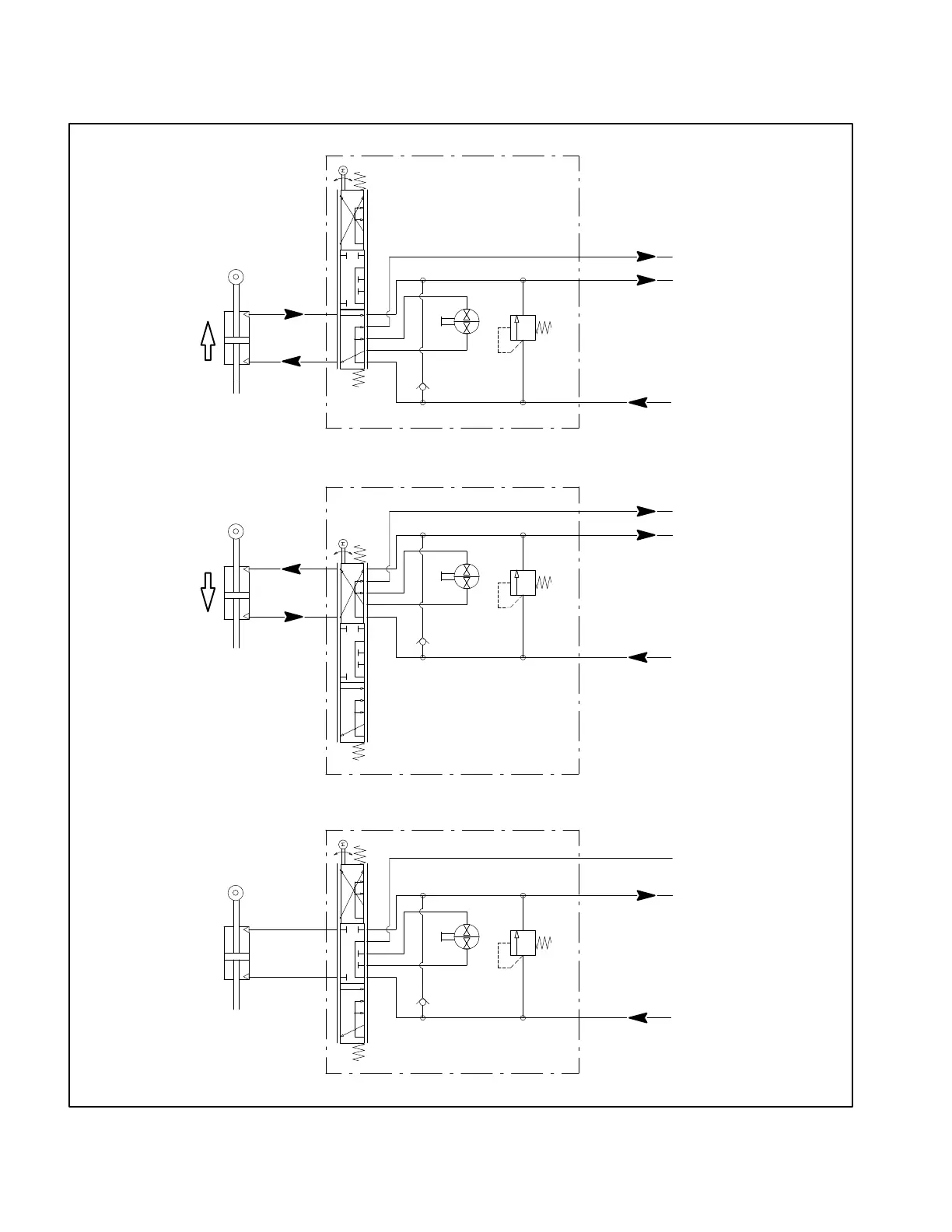
Workman HDX AutoPage 7 − 10Hydraulic System
Hydraulic Circuit Operation
1800 PSI
P
RL
2.44
CIR
T E
STEERING CYLINDER
NO PISTON MOVEMENT
NEUTRAL POSITION
STEERING
CONTROL
VALVE
1800 PSI
P
RL
2.44
CIR
T E
STEERING CYLINDER
PISTON MOVEMENT
LEFT TURN
STEERING
CONTROL
VALVE
1800 PSI
P
RL
2.44
CIR
T E
STEERING CYLINDER
PISTON MOVEMENT
RIGHT TURN
STEERING
CONTROL
VALVE
Figure 9

Table of Contents

Related product manuals