EasyManua.ls Logo

ABB ACS880 - Example Parameter Settings

ABB ACS880
646 pages
Print Icon
To Next Page IconTo Next Page
To Next Page IconTo Next Page
To Previous Page IconTo Previous Page
To Previous Page IconTo Previous Page
Loading...
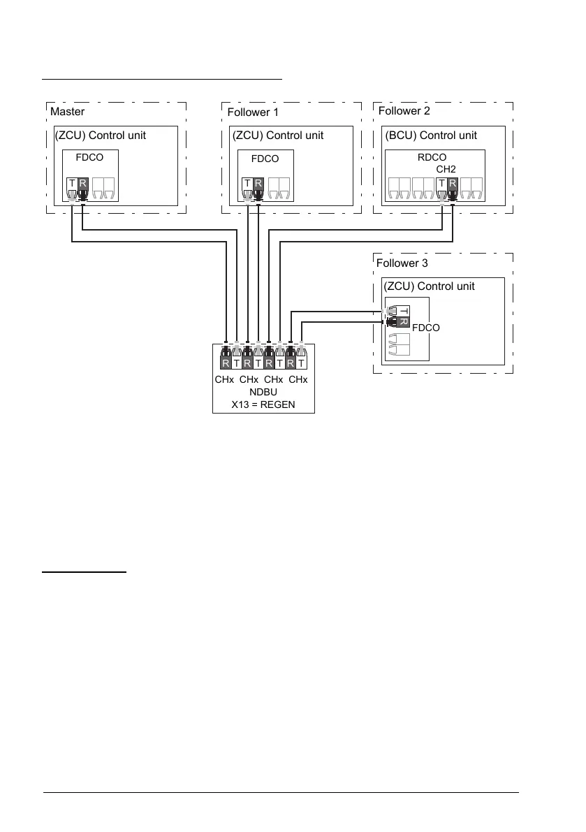
Star configuration with fiber optic cables (2)
R T R T
RT
RT
RTRT
R T R T
Master
Follower 1
Follower 2
(ZCU) Control unit
(ZCU) Control unit (BCU) Control unit
FDCO
FDCO
RDCO
CH2
Follower 3
(ZCU) Control unit
FDCO
CHx CHx CHx CHx
NDBU
X13 = REGEN
Where, T = Transmitter; R = Receiver
Example parameter settings
The following is a checklist of parameters that need to be set when configuring the
master/follower link. In this example, the master broadcasts the Follower control word,
a speed reference and a torque reference. The follower returns a status word and two
actual values (this is not compulsory but is shown for clarity).
Master settings
Master/follower link activation
60.1 M/F communication port (fiber optic channel or XD2D selection)
(60.2 M/F node address = 1)
60.3 M/F mode = DDCS master (for both fiber optic and wire connection)
60.5 M/F HW connection (Ring or Star for fiber optic, Star for wire)
Data to be broadcast to the followers
61.1 M/F data 1 selection = Follower CW (Follower control word)
61.2 M/F data 2 selection = Used speed reference
40 Program features

Table of Contents

Other manuals for ABB ACS880

Related product manuals