EasyManua.ls Logo

ABB ACS880 - Warning Indications; Settings and Diagnostics; Oscillation Damping

ABB ACS880
646 pages
Print Icon
To Next Page IconTo Next Page
To Next Page IconTo Next Page
To Previous Page IconTo Previous Page
To Previous Page IconTo Previous Page
Loading...
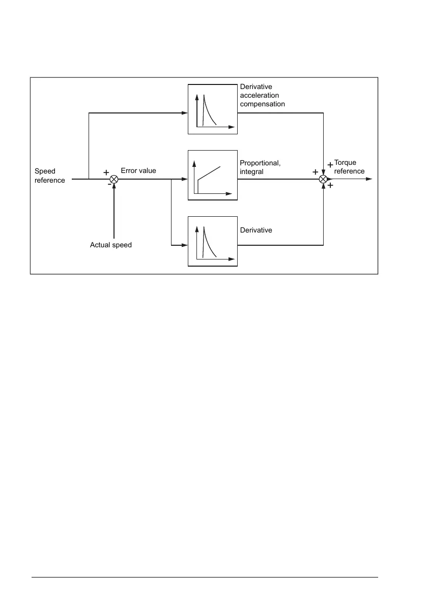
The figure below is a simplified block diagram of the speed controller. The controller
output is the reference for the torque controller.
-
+
+
+
+
Derivative
acceleration
compensation
Proportional,
integral
Derivative
Torque
reference
Actual speed
Speed
reference
Error value
Warning indications
A warning message, AF90 will be generated if the autotune routine does not complete
successfully. For further information, see chapter Fault tracing (page 537).
Settings and diagnostics
Parameters: 25.33 Speed controller autotune25.40 Autotune repeat times (page 294).
Events: AF90 Speed controller autotuning (page 577).
Oscillation damping
The oscillation damping function can be used to cancel out oscillations caused by
mechanics or an oscillating DC voltage. The input a signal reflecting the oscillation
is selected by parameter 26.53. The oscillation damping function outputs a sine wave
(26.58) which can be summed with the torque reference with a suitable gain (26.57)
and phase shift (26.56).
The oscillation damping algorithm can be activated without connecting the output to the
reference chain, which makes it possible to compare the input and output of the function
and make further adjustments before applying the result.
52 Program features

Table of Contents

Other manuals for ABB ACS880

Related product manuals