EasyManua.ls Logo

ABB ACS880 - Brake State Diagram

ABB ACS880
646 pages
Print Icon
To Next Page IconTo Next Page
To Next Page IconTo Next Page
To Previous Page IconTo Previous Page
To Previous Page IconTo Previous Page
Loading...
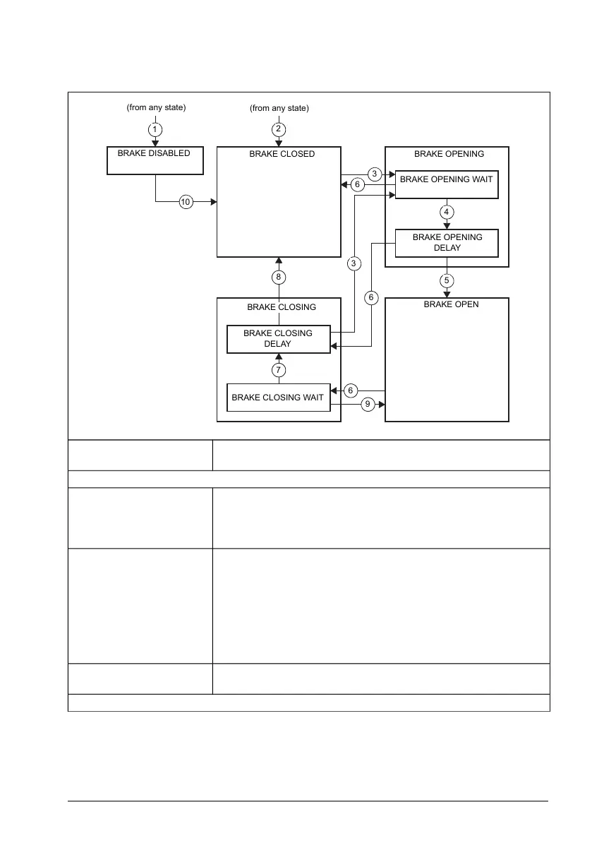
Brake state diagram
BRAKE DISABLED
BRAKE OPENINGBRAKE CLOSED
BRAKE OPENING WAIT
BRAKE OPENING
DELAY
BRAKE CLOSING
BRAKE CLOSING
DELAY
BRAKE CLOSING WAIT
BRAKE OPEN
(from any state)
(from any state)
1
2
10
3
6
4
5
3
6
8
7
6
9
Brake control is disabled (parameter 44.6 = 0, and 44.1 b4 = 0). The
brake is closed (44.1 b0 = 0).
BRAKE DISABLED
BRAKE OPENING:
Brake has been requested to open. The drive logic is requested to
increase the torque up to opening torque to hold the load in place
(44.1 b1 = 1 and b2 = 1). The state of 44.11 is checked; if it is not
0 within a reasonable time, the drive trips on a 71A5 fault
1)
.
BRAKE OPENING WAIT
Opening conditions have been met and open signal activated (44.1
b0 is set). The opening torque request is removed (44.1 b1 0).
The load is held in place by the speed control of the drive until 44.8
elapses.
BRAKE OPENING DELAY
At this point, if 44.7 is set to No acknowledge, the logic proceeds to
BRAKE OPEN state. If an acknowledgement signal source has been
selected, its state is checked; if the state is not “brake open”, the
drive trips on a 71A3 fault
1)
.
The brake is open (44.1 b0 = 1). Hold request is removed (44.1 b2
= 0), and the drive is allowed to follow the reference.
BRAKE OPEN
BRAKE CLOSING:
Program features 77

Table of Contents

Other manuals for ABB ACS880

Related product manuals