EasyManua.ls Logo

ABB ACS880 - Basics of the Fieldbus Control Interface

ABB ACS880
646 pages
To Next Page IconTo Next Page
To Next Page IconTo Next Page
To Previous Page IconTo Previous Page
To Previous Page IconTo Previous Page
Loading...
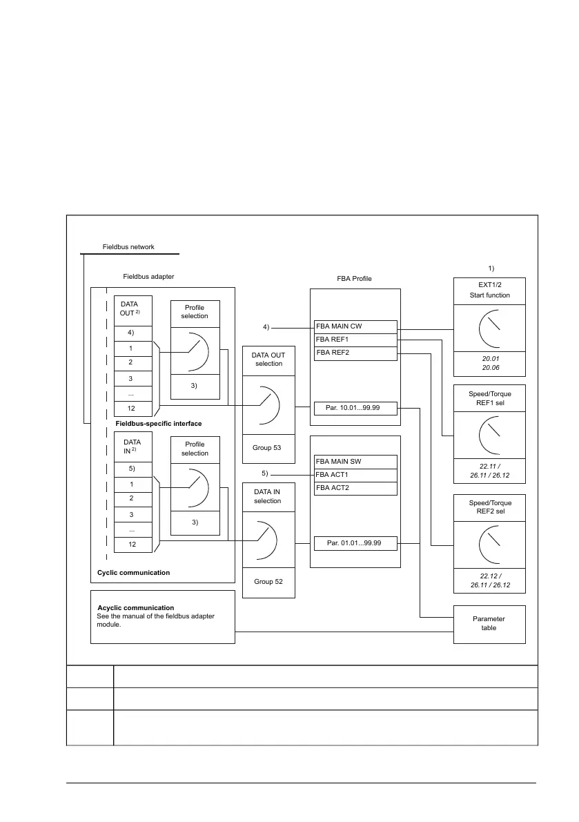
Basics of the fieldbus control interface
The cyclic communication between a fieldbus system and the drive consists of 16- or
32-bit input and output data words. The drive is able to support a maximum of 12 data
words (16 bits) in each direction.
Data transmitted from the drive to the fieldbus controller is defined by parameters 52.1
FBA A data in1 ... 52.12 FBA A data in12. The data transmitted from the fieldbus
controller to the drive is defined by parameters 53.1 FBA data out1 ... 53.12 FBA data
out12.
FBA Profile
Fieldbus network
Cyclic communication
1
2
3
4)
Profile
selection
Start function
22.11 /
26.11 / 26.12
...
1)
EXT1/2
Speed/Torque
REF1 sel
20.01
20.06
Parameter
table
Fieldbus adapter
Speed/Torque
REF2 sel
22.12 /
26.11 / 26.12
Par. 01.01...99.99
FBA ACT2
FBA ACT1
FBA MAIN SW
Par. 10.01...99.99
FBA REF2
FBA REF1
FBA MAIN CW
4)
DATA OUT
selection
Group 52
DATA IN
selection
Group 53
5)
Acyclic communication
See the manual of the fieldbus adapter
module.
3)
Profile
selection
3)
DATA
OUT
2)
12
DATA
IN
2)
1
2
3
5)
...
12
Fieldbus-specific interface
See also other parameters which can be controlled from fieldbus.1)
The maximum number of data words used is protocol-dependent.2)
Profile/instance selection parameters. Fieldbus module specific parameters. For more
information, see the User’s Manual of the appropriate fieldbus adapter module.
3)
Fieldbus control through a fieldbus adapter 611

Table of Contents

Other manuals for ABB ACS880

Related product manuals