EasyManua.ls Logo

ADCMT 6253 - Connections for 3-Unit Synchronous Operation by SYNC out

ADCMT 6253
274 pages
Print Icon
To Next Page IconTo Next Page
To Next Page IconTo Next Page
To Previous Page IconTo Previous Page
To Previous Page IconTo Previous Page
Loading...
6253 DC Voltage Current Source/Monitor Operation Manual
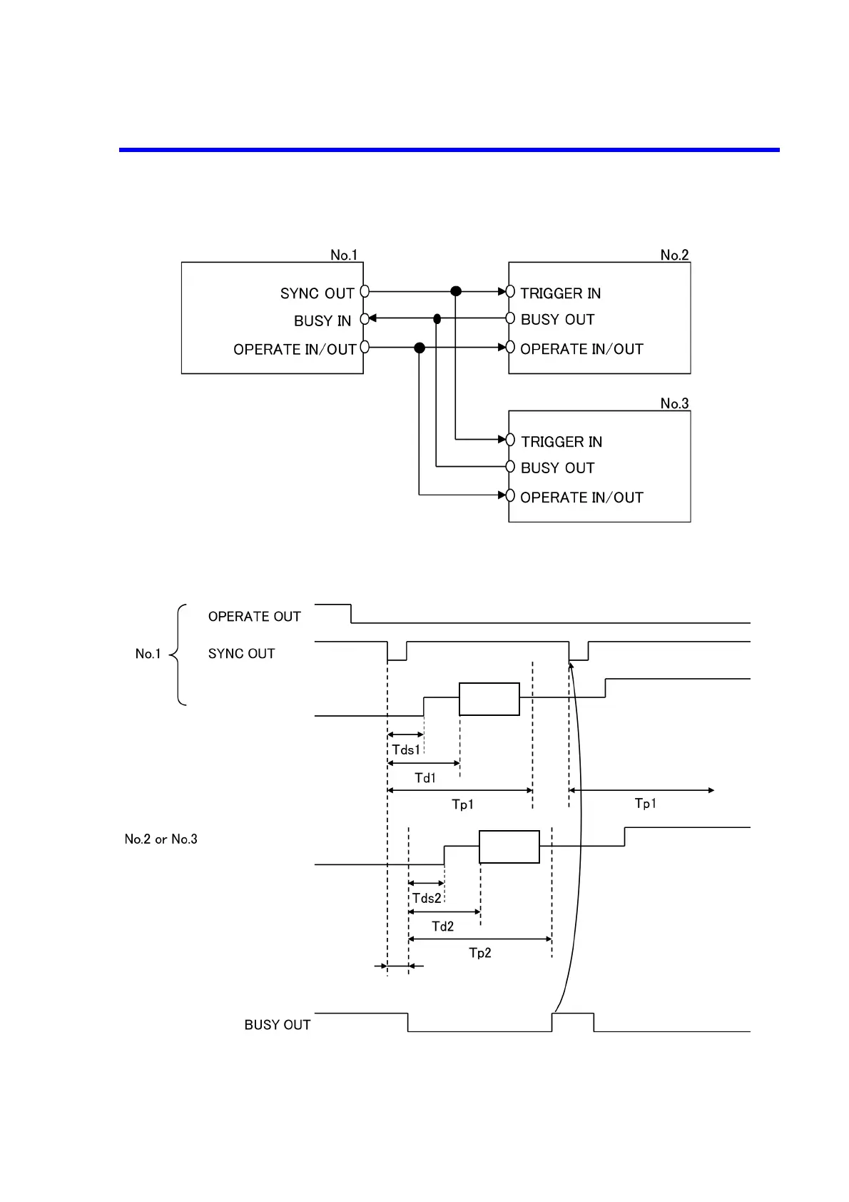
4.2.11 Multiple Unit Operation
4-66
Figure 4-16 Connections for 3-Unit Synchronous Operation by SYNC OUT
(Master)
(Slave)
(Slave)
6253 6253
6253
Source and
Measurement
Source and
Measurement
Synchronous delay time Tsync = Approx. 5 s
* Waiting for BUSY status release
Measurement
Measurement

Table of Contents

Related product manuals