EasyManua.ls Logo

Baumuller b maXX BM1000 - Connection NPN Mode and PNP Mode - Without External Power

Baumuller b maXX BM1000
176 pages
Print Icon
To Next Page IconTo Next Page
To Next Page IconTo Next Page
To Previous Page IconTo Previous Page
To Previous Page IconTo Previous Page
Loading...
Connection diagrams
Manual b maXX
®
BM1000
Document No. 5.07003.04 Baumüller Nürnberg GmbH
52
of 174
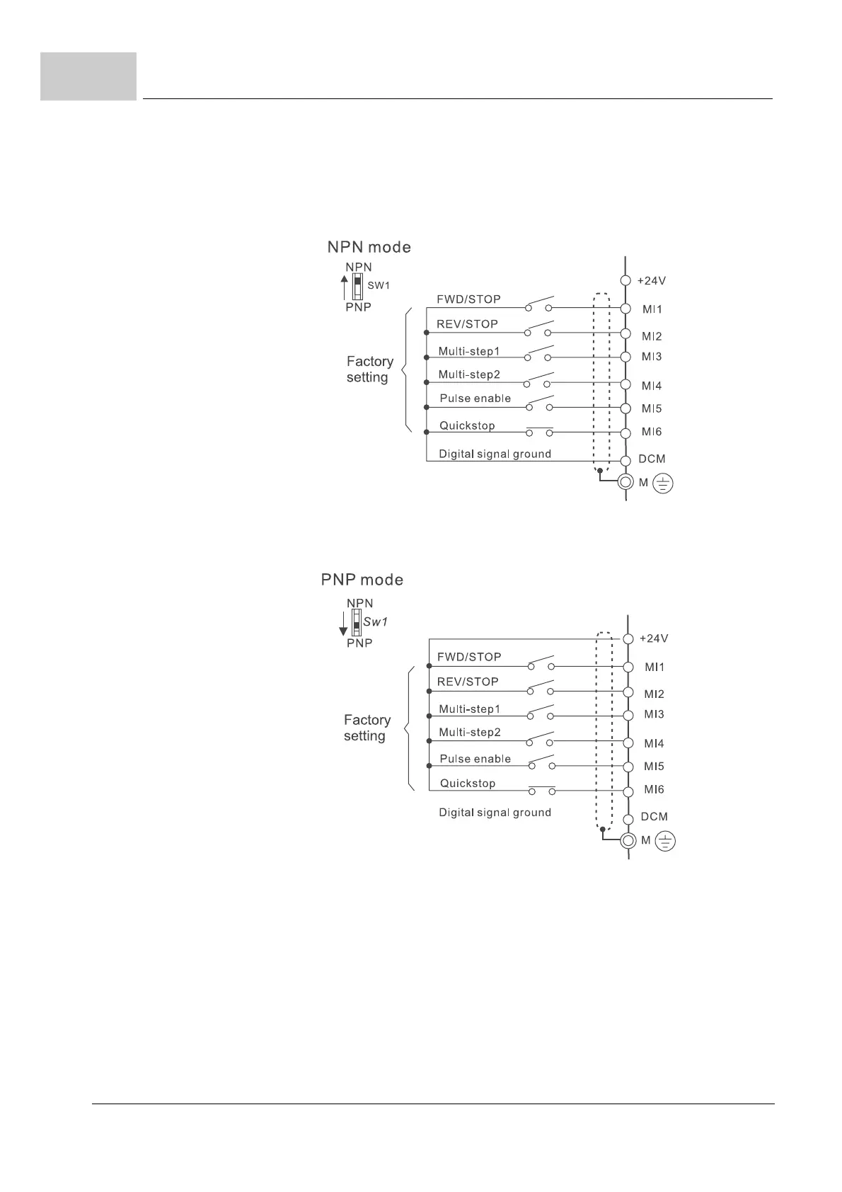
6.9
Wiring for NPN mode and PNP mode
m without external power
Figure 22: Connection NPN mode and PNP mode - without external power

Table of Contents

Related product manuals