EasyManua.ls Logo

Belarus 820 - Page 172

Default Icon
381 pages
Print Icon
To Next Page IconTo Next Page
To Next Page IconTo Next Page
To Previous Page IconTo Previous Page
To Previous Page IconTo Previous Page
Loading...
80-0000010B OM
172
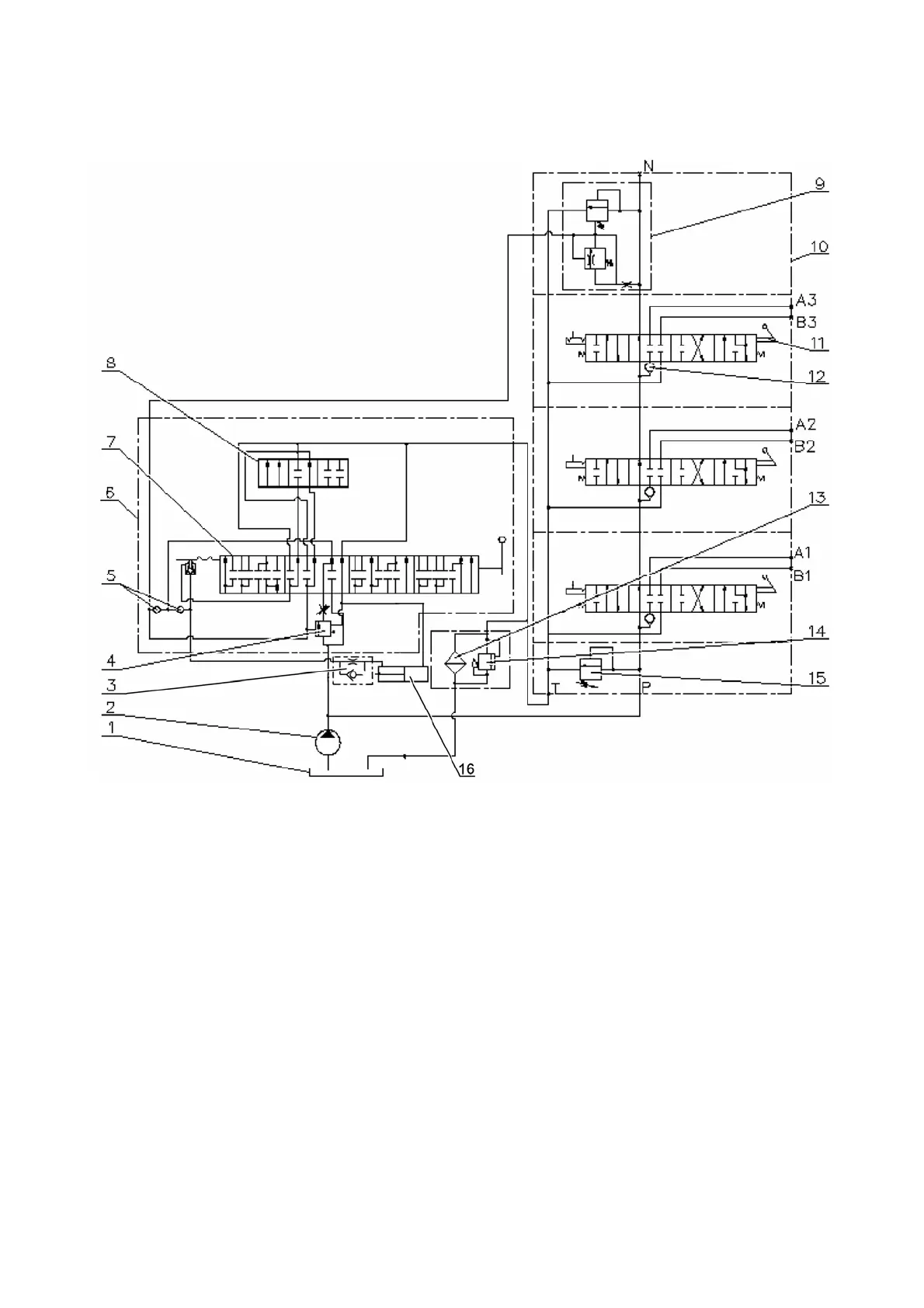
HLL hydraulic circuit diagram with the distributor РП70-1221.1С is shown in figure
3.15.4.
1 – tank; 2 – pump; 3 – redarding valve; 4 – priority valve; 5back-flow valve;
6 draft (position) control; 7 sleeve; 8 spool; 9 by-pass valve; 10 distributor
РП70-1221.1С; 11 spool; 12 back-flow valve; 13 filter of the hydraulic system;
14 – filter valve; 15 – safety valve; 16 – cylinder.
Figure 3.15.4 – HLL hydraulic circuit diagram with the distributor РП70-1221.1С installed.

Table of Contents

Related product manuals