EasyManua.ls Logo

Belarus 820 - Page 173

Default Icon
381 pages
Print Icon
To Next Page IconTo Next Page
To Next Page IconTo Next Page
To Previous Page IconTo Previous Page
To Previous Page IconTo Previous Page
Loading...
80-0000010B OM
173
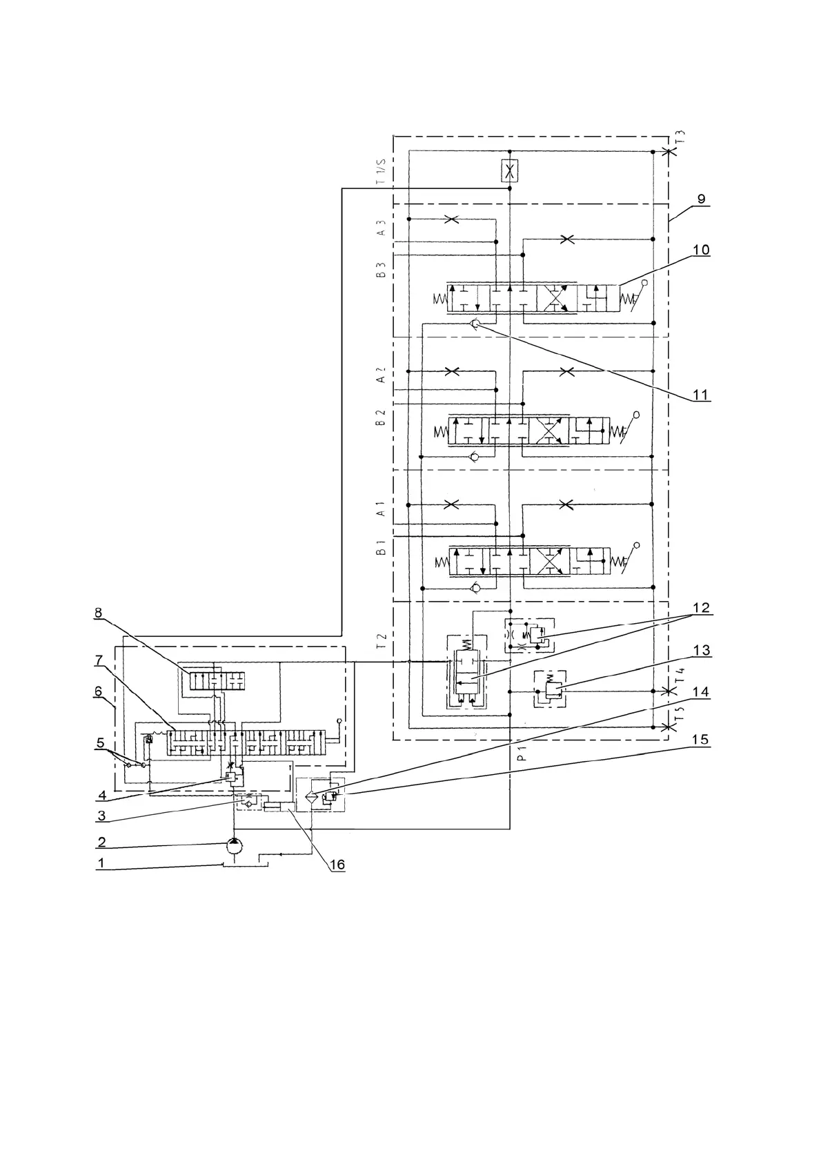
HLL hydraulic circuit diagram with the distributor RS-213 BELARUS installed is
shown in figure 3.15.5.
1 tank; 2 pump; 3 retarding valve; 4 priority valve; 5 back-flow valve;
6 draft (position) control; 7 sleeve; 8 spool; 9 distributor RS-213 BELARUS;
10 spool; 11 back-flow valve; 12 by-pass valve; 13 safety valve; 14 filter of
the hydraulic system; 15 – filter valve; 16 - cylinder.
Figure 3.15.5 – HLL hydraulic circuit diagram with the distributor RS-213 BELARUS in-
stalled.

Table of Contents

Related product manuals