EasyManua.ls Logo

Belarus 820 - Page 174

Default Icon
381 pages
Print Icon
To Next Page IconTo Next Page
To Next Page IconTo Next Page
To Previous Page IconTo Previous Page
To Previous Page IconTo Previous Page
Loading...
80-0000010B OM
174
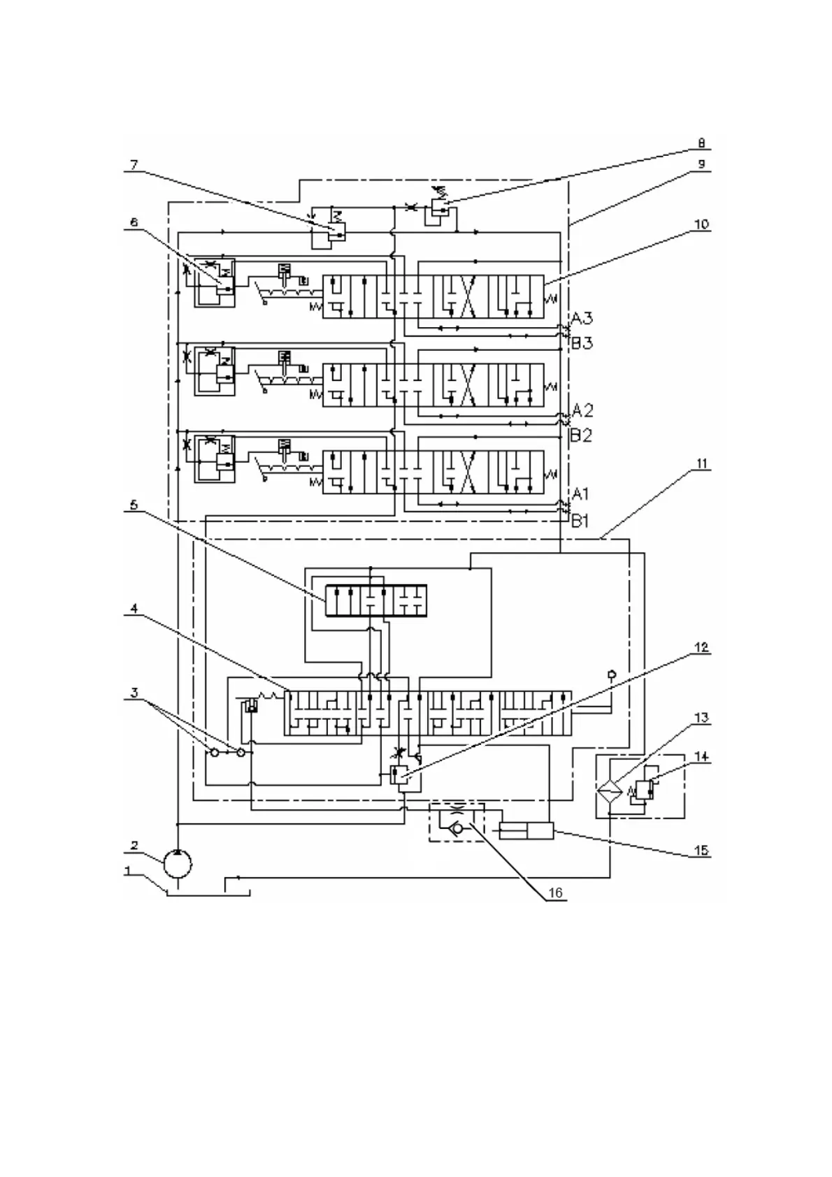
HLL hydraulic circuit diagram with the distributor Р80-3/4-222 installed is shown in
figure 3.15.6.
1 tank; 2 pump; 3 back-flow valve; 4 sleeve; 5 spool; 6 valve of auto-
matic return of the spool; 7 overflow valve; 8 safety valve; 9 distributor Р80-3/4-
222-3Г; 10 spool; 11 draft (position) control; 12 priority valve; 13 filter of the hy-
draulic system; 14 – filter valve; 15 – cylinder; 16 – retarding valve.
Figure 3.15.6 HLL hydraulic circuit diagram with the distributor Р80-3/4-222 in-
stalled

Table of Contents

Related product manuals