EasyManua.ls Logo

Belarus 820 - Page 175

Default Icon
381 pages
Print Icon
To Next Page IconTo Next Page
To Next Page IconTo Next Page
To Previous Page IconTo Previous Page
To Previous Page IconTo Previous Page
Loading...
80-0000010B OM
175
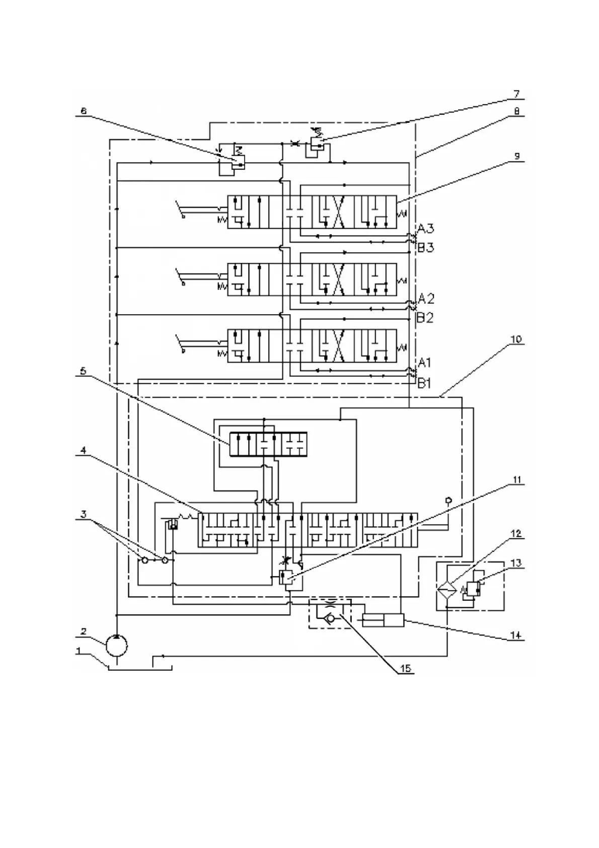
HLL hydraulic circuit diagram with the distributor Р80-3/4-111 is shown in figure
3.15.7.
1 tank; 2 pump; 3 back-flow valve; 4 sleeve; 5 spool; 6 overflow valve;
7 safety valve; 8 distributor Р80-3/4-111-3Гг; 9 spool; 10 draft (position) control;
11 priority valve; 12 filter of the hydraulic system; 13 filter valve; 14 cylinder; 15 re-
tarding valve.
Figure 3.15.6 HLL hydraulic circuit diagram with the distributor Р80-3/4-111 in-
stalled

Table of Contents

Related product manuals