EasyManua.ls Logo

Belarus 820 - Page 176

Default Icon
381 pages
Print Icon
To Next Page IconTo Next Page
To Next Page IconTo Next Page
To Previous Page IconTo Previous Page
To Previous Page IconTo Previous Page
Loading...
80-0000010B OM
176
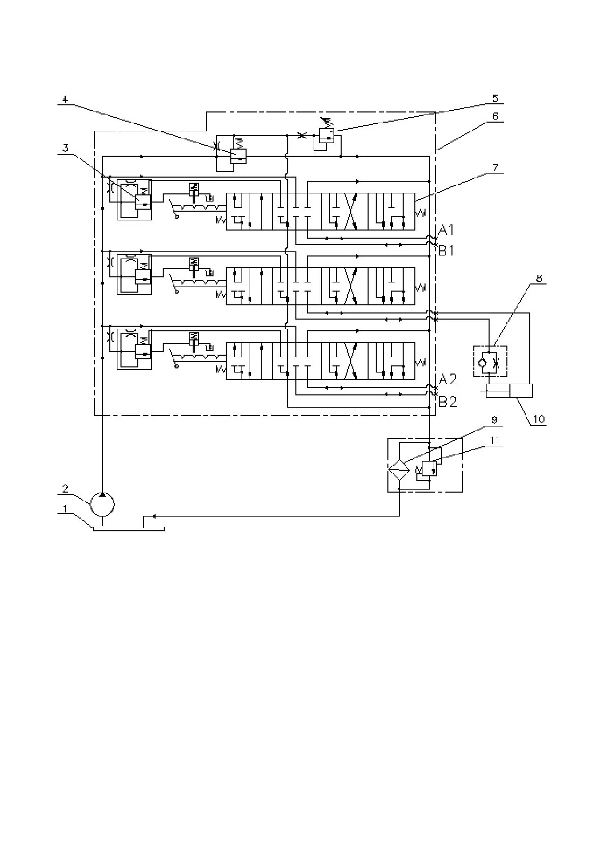
HLL hydraulic circuit diagram with the distributor Р80-3/1-222 installed is shown in
figure 3.15.8.
1 HLL and HSC oil tank; 2 HLL feed pump; 3 valve of automatic return of the
spool; 4 overflow valve; 5 safety valve; 6 distributor Р80-3/1-222-3Г; 7 spool;
8 – retarding valve; 9 – filter; 10 – cylinder; 11 – filter valve.
Figure 3.15.8 HLL hydraulic circuit diagram with the distributor Р80-3/1-222 in-
stalled

Table of Contents

Related product manuals