EasyManua.ls Logo

Hisun HS700UTV-4 - Page 351

Hisun HS700UTV-4
388 pages
Print Icon
To Next Page IconTo Next Page
To Next Page IconTo Next Page
To Previous Page IconTo Previous Page
To Previous Page IconTo Previous Page
Loading...
ELECTRICAL COMPONENTS
- 338 -
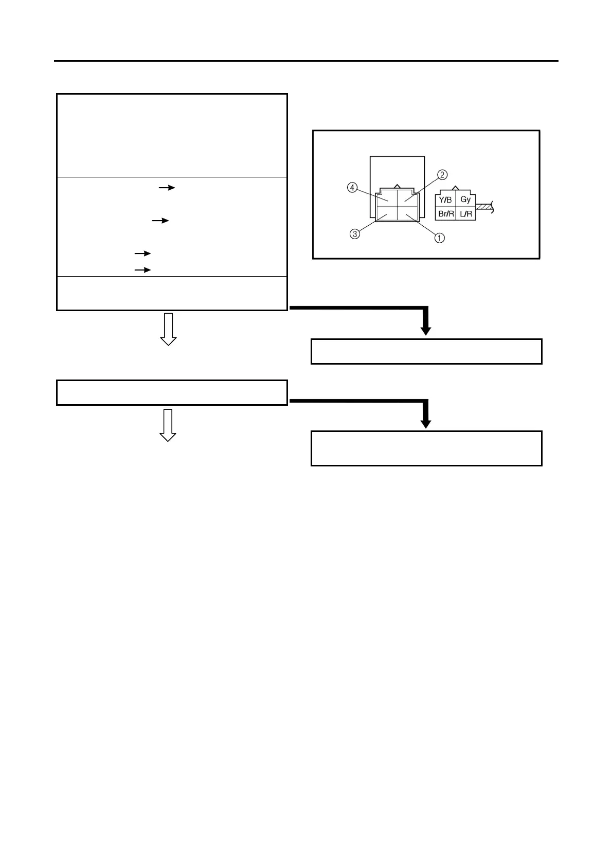
6. Four-wheel drive relay 3
• Remove the four-wheel drive relay 3 from
the wire harness.
• Connect the pocket tester ( × 1) and the
battery (12 V) to the four-wheel drive relay
3 terminals.
Battery (+) terminal Brown/Red terminal
Battery (–) terminal
Yellow/Black terminal
Tester (+) lead
Blue/Red terminal
Tester (–) lead
Gray terminal
• Check the four-wheel drive relay 3 for
continuity.
CONTINUITY
7. On-Command four-wheel drive switch and
differential gear lock switch
Refer to “CHECKING THE SWITCH”.
CORRECT
NO CONTINUITY
Replace the four-wheel drive relay 3.
INCORRECT
Replace the On-Command four-wheel drive
switch and differential gear lock switch.

Table of Contents

Related product manuals