EasyManua.ls Logo

Mitsubishi FX3U-20SSC-H - Page 272

Mitsubishi FX3U-20SSC-H
304 pages
To Next Page IconTo Next Page
To Next Page IconTo Next Page
To Previous Page IconTo Previous Page
To Previous Page IconTo Previous Page
Loading...
12 Program Example
12.4 Sequence Program
266
FX3U-20SSC-H Positioning Block User's Manual
From previous page From previous page
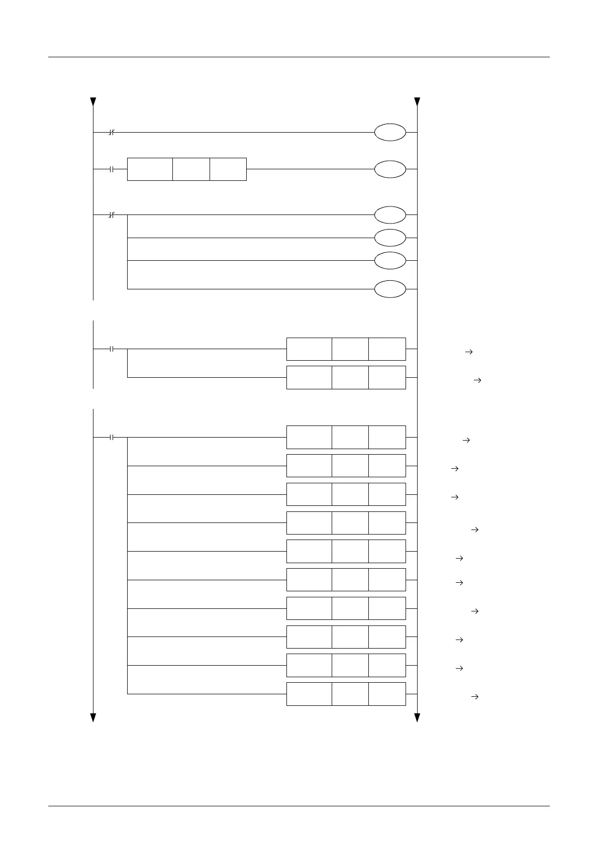
Write the X- and Y-axis operation command to 20SSC-H.
M8000
RUN monitor
X-axis operation command
M20 to M35 BFM #518
To next page To next page
M8000
RUN monitor
K4M20 U0\G518
FNC 12
MOV
K4M120 U0\G618
FNC 12
MOV
Y-axis operation command
M120 to M135 BFM #618
Read X-axis monitor data from 20SSC-H.
U0\G0 D0
FNC 12
DMOV
U0\G6 D6
FNC 12
MOV
U0\G9 D9
FNC 12
MOV
U0\G10 D10
FNC 12
DMOV
X-axis current address (user)
BFM #1,#0 D1,D0
X-axis error BFM No.
BFM #6 D6
X-axis m code No.
BFM #9 D9
X-axis operation speed
present value
BFM #11,#10 D11,D10
U0\G16 D16
FNC 12
MOV
X-axis number of the table in
operation
BFM #16 D16
U0\G29 D29
FNC 12
MOV
U0\G68 D68
FNC 12
MOV
U0\G64 D64
FNC 12
MOV
U0\G52 D52
FNC 12
DMOV
U0\G70 D70
FNC 12
DMOV
X-axis error code
BFM #29 D29
X-axis motor rotation speed
BFM #53,#52 D53,D52
X-axis servo status
BFM #64 D64
X-axis servo warning code
BFM #68 D68
X-axis motor feedback position
BFM #71,#70 D71,D70
M8000
RUN monitor
M130
Y-axis M code ON
M148
D109 K11003
FNC232
AND=
M131
Y-axis m code OFF
command
Y-axis change command in
operation disable
(In this example, always OFF)
M8000
RUN monitor
M132
Y-axis speed change command
in positioning control
(In this example, always OFF)
Y-axis forget position change
command in positioning control
(In this example, always OFF)
Always OFF
M133
M134
M135
Always OFF

Table of Contents

Other manuals for Mitsubishi FX3U-20SSC-H

Related product manuals