EasyManua.ls Logo

Tally T8024 - Page 222

Default Icon
266 pages
Print Icon
To Next Page IconTo Next Page
To Next Page IconTo Next Page
To Previous Page IconTo Previous Page
To Previous Page IconTo Previous Page
Loading...
8.4 Printing Reports and Lists
196
Daily Care
8
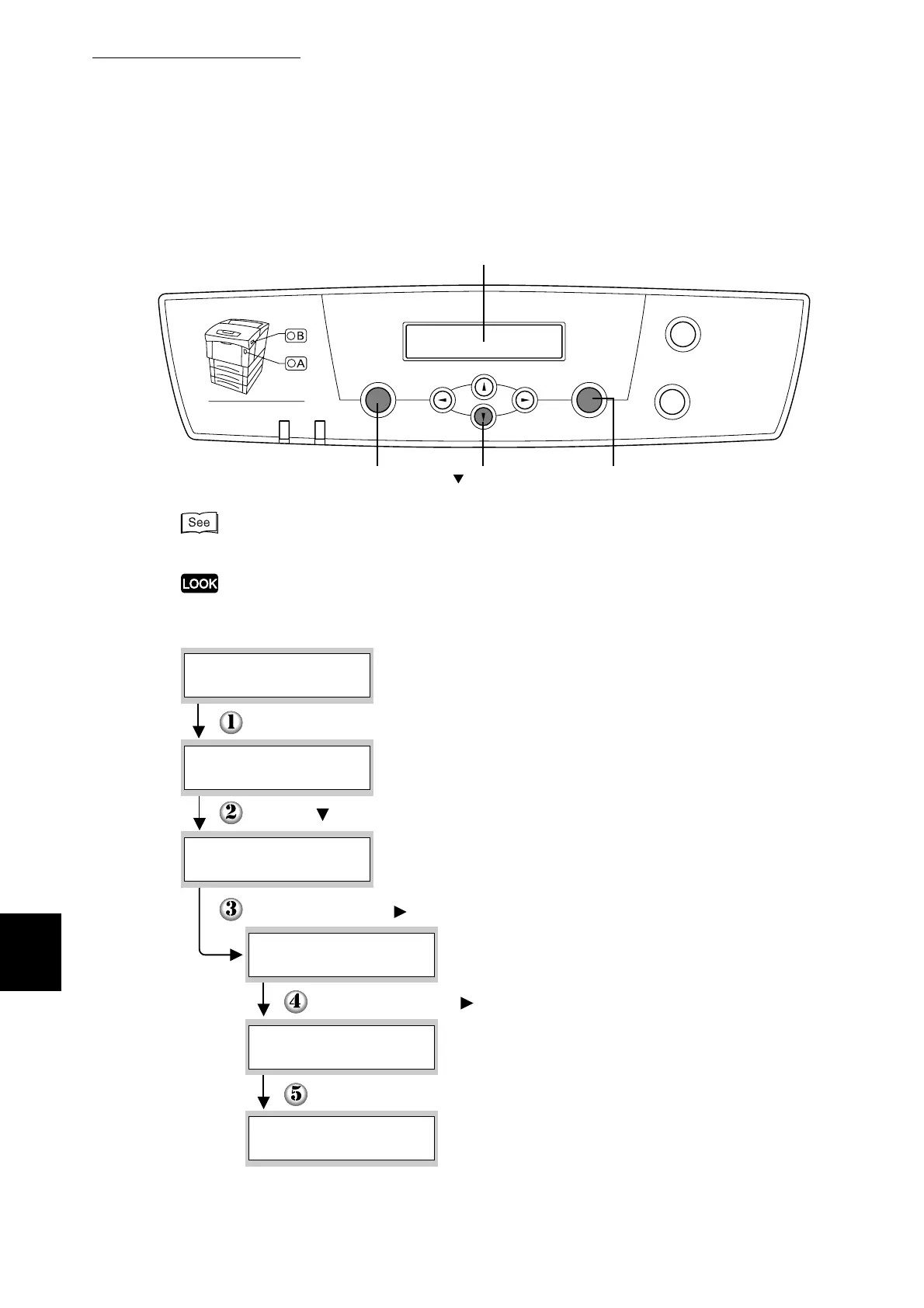
This section describes how to print the Printer Settings list. Use the following
operation panel buttons:
For details about operation panel operations, refer to "5.2 Basic Menu Operation".
The Printer Settings list is printed on A4 paper. Set the A4 paper lengthwise into the paper
tray.
Menu
Ready
Eject
Set Back
Cancel
Error
Front Door Release Button
Power saver
button
Display (messages appear here)
Set/Eject button
Menu button
(The print screen. The printer is ready to print.)
Press the Menu button. The menu screen appears.
(The Menu screen)
Press the button three times.
Press the Set/Eject button once.
When printing is finished, the print screen reappears.
Press the Set/Eject or button once.
Press the Set/Eject or button once.
Ready to Print
1:System
Menu
4:Report/List
Menu
Printer Settings
4:Report/List
Printing
Printer Settings
Tray 1
Ready to Print
Printer Settings

Table of Contents

Related product manuals