EasyManua.ls Logo

TOHATSU BFT75A - Page 289

TOHATSU BFT75A
609 pages
Print Icon
To Next Page IconTo Next Page
To Next Page IconTo Next Page
To Previous Page IconTo Previous Page
To Previous Page IconTo Previous Page
Loading...
9-4
dummyheaddummyhead
STARTING SYSTEM
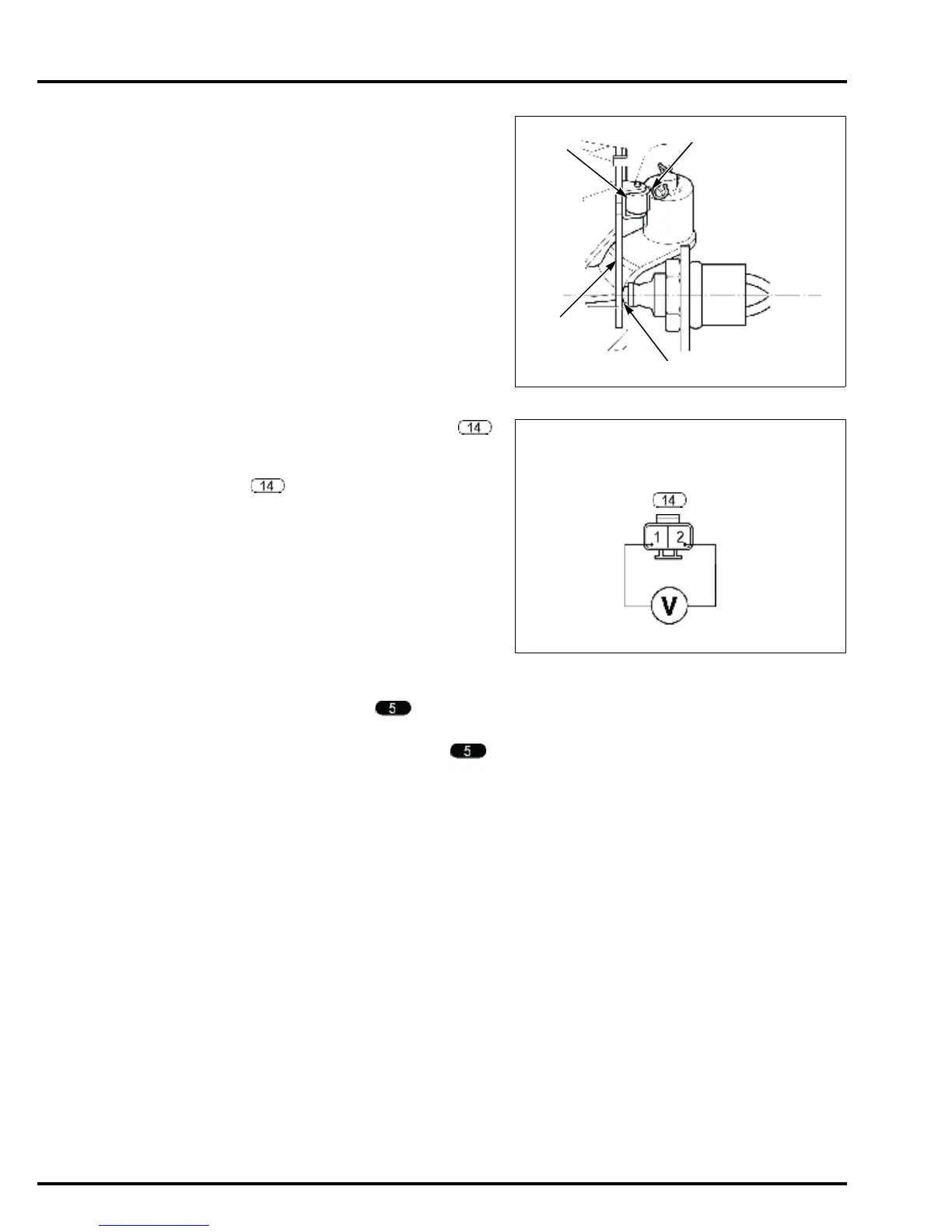
5. Shift control cable inspection
Control lever is in the "N" (Neutral) position.
Tip [1] of the neutral switch is set in the detent
assisted spring [2] securely and the detent spring
roller [3] is set in the groove [4] in the shift arm.
Shift cable adjustment correct?
YES GO TO STEP 6.
NO Adjust the shift control cable.
6. Starter relay coil line open circuit inspection
Disconnect the neutral switch 2P connector .
Turn the combination switch to the START position.
Measure the voltage at the neutral switch 2P
connector main wire harness side No.1 (Blue)
terminal and No.2 (Black) terminal.
Does battery voltage exist?
YES Faulty neutral switch.
NO GO TO STEP 7.
7. Combination switch open circuit inspection
Turn the combination switch OFF.
Disconnect the 14P connector .
Turn the combination switch to the START position.
Check for continuity at the 14P connector combination switch side No.1 (White/Black) terminal and
No.8 (Black/White) terminal.
Is there continuity?
YES GO TO STEP 8.
NO Repair the open circuit in the combination switch wire
Replace the combination switch with a new one and recheck
8. PGM-FI/main relay Inspection
Inspect the PGM-FI/main relay (page 10-13).
Is the PGM-FI/main relay normal?
YES Repair the open circuit in the main wire harness.
Poorly connected connector.
NO Replace the PGM-FI/main relay with a one and recheck.
[1]
[2]
[3]
[4]
NEUTRAL SWITCH 2P CONNECTOR
MAIN WIRE HARNESS SIDE
NTSW
(Blue)
GND
(Black)

Table of Contents

Related product manuals