EasyManua.ls Logo

ABB CL Series - Page 58

ABB CL Series
428 pages
Print Icon
To Next Page IconTo Next Page
To Next Page IconTo Next Page
To Previous Page IconTo Previous Page
To Previous Page IconTo Previous Page
Loading...
Connecting inputs
55
1SVC 440 795 M1100
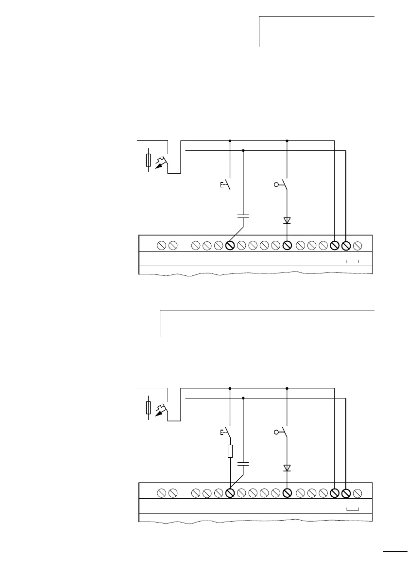
Increasing the input current
The following input circuit can be used in order to prevent
interference and also when using two-wire proximity
switches:
Figure: 37: Increasing the input current
A resistor can be connected in series with the circuit shown
in order to restrict the inrush current.
Figure: 38: Limitation of the inrush current with a resistor
L1
N
R10R9R8R7R6R5R4R3R2R1E+ E– R11 R12 NNL
115/230 V h
F1
100 nF/275 V h
h
When using a 100 nF capacitor, the drop-out time of the
input increases by 80 (66.6) ms at 50 (60) Hz.
L1
N
R10R9R8R7R6R5R4R3R2R1E+ E– R11 R12 NNL
115/230 V h
F1
100 nF/275 V h
1 kO

Table of Contents

Related product manuals