EasyManua.ls Logo

Belarus 820 - Page 197

Default Icon
381 pages
Print Icon
To Next Page IconTo Next Page
To Next Page IconTo Next Page
To Previous Page IconTo Previous Page
To Previous Page IconTo Previous Page
Loading...
80-0000010B OM
197
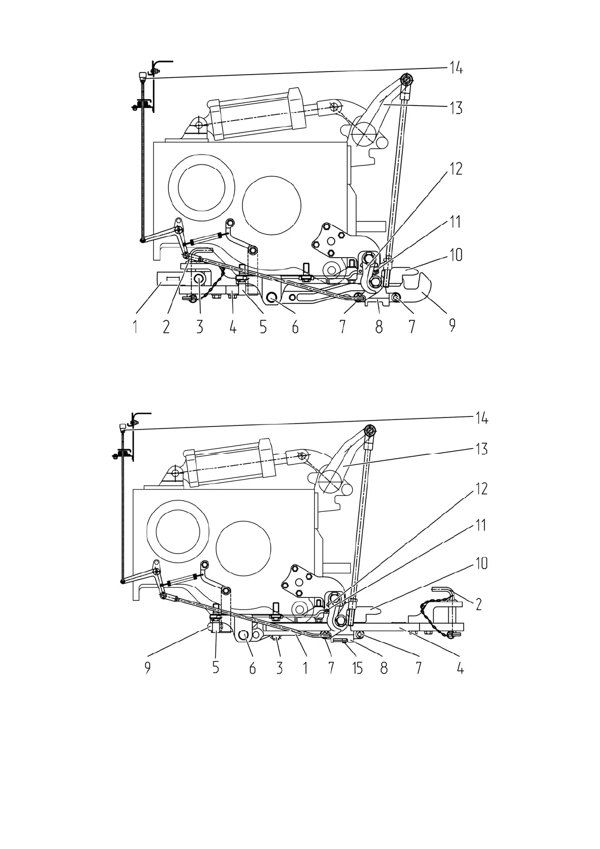
а) hydraulic hook in working position
б) pendulum in working position
1 eyebar; 2 pivot; 3 pin; 4 pendulum; 5 plate; 6 pin; 7 pin; 8 crossbar;
9 – hydraulic hook; 10 – bracket; 11 – bolt; 12 – grip; 13 – lever; 14 – handle; 15 – pin.
Figure 3.17.8 – Resetting of the pendulum and hydraulic hook to working positions

Table of Contents

Related product manuals