EasyManua.ls Logo

Honeywell HC900 - Figure 9 - Rack Options

Honeywell HC900
264 pages
To Next Page IconTo Next Page
To Next Page IconTo Next Page
To Previous Page IconTo Previous Page
To Previous Page IconTo Previous Page
Loading...
Components and Architecture - Hardware Components
20 HC900 Process Controller Installation and User Guide Revision 19
06/14
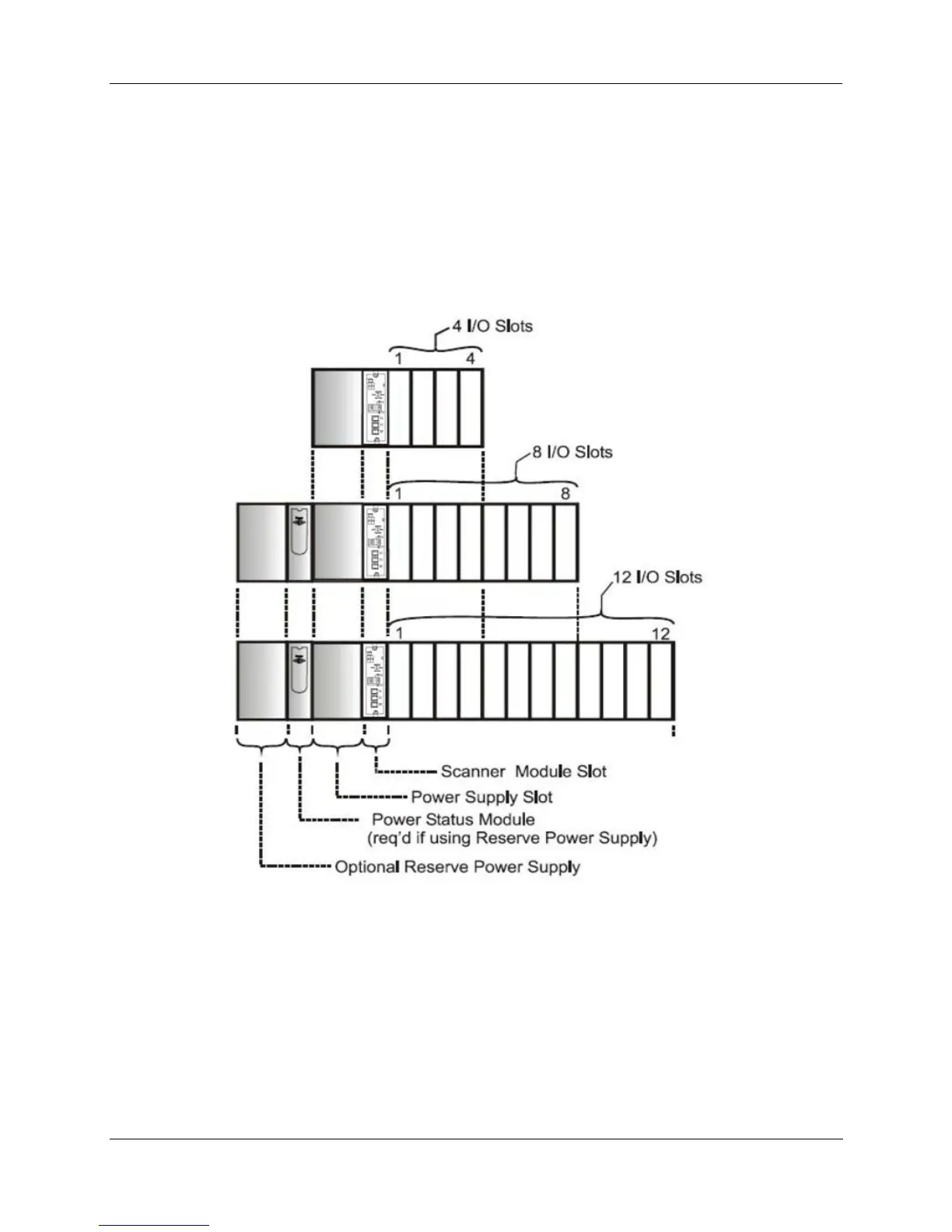
Rack Options
Racks are available in 4-slot, 8-slot, and 12-Slot versions. Racks are interchangeable between the
Controller rack and an I/O expansion rack (C50, C70, C75 CPU only), and all three versions shown in the
following figure are available for either purpose.
C75 only: I/O rack has Scanner 2 Module. 8 and 12 slot I/O racks can be modified with additional slots for
optional Reserve Power Supply and Power Status Module.
Note: You can install redundant power on any I/O rack.
Figure 9 – Rack Options

Table of Contents

Other manuals for Honeywell HC900

Related product manuals