EasyManua.ls Logo

MacDon M1170NT5 - Adding Engine Oil; Fuel;Water Separator

MacDon M1170NT5
504 pages
Print Icon
To Next Page IconTo Next Page
To Next Page IconTo Next Page
To Previous Page IconTo Previous Page
To Previous Page IconTo Previous Page
Loading...
215922 271 Revision A
1000074
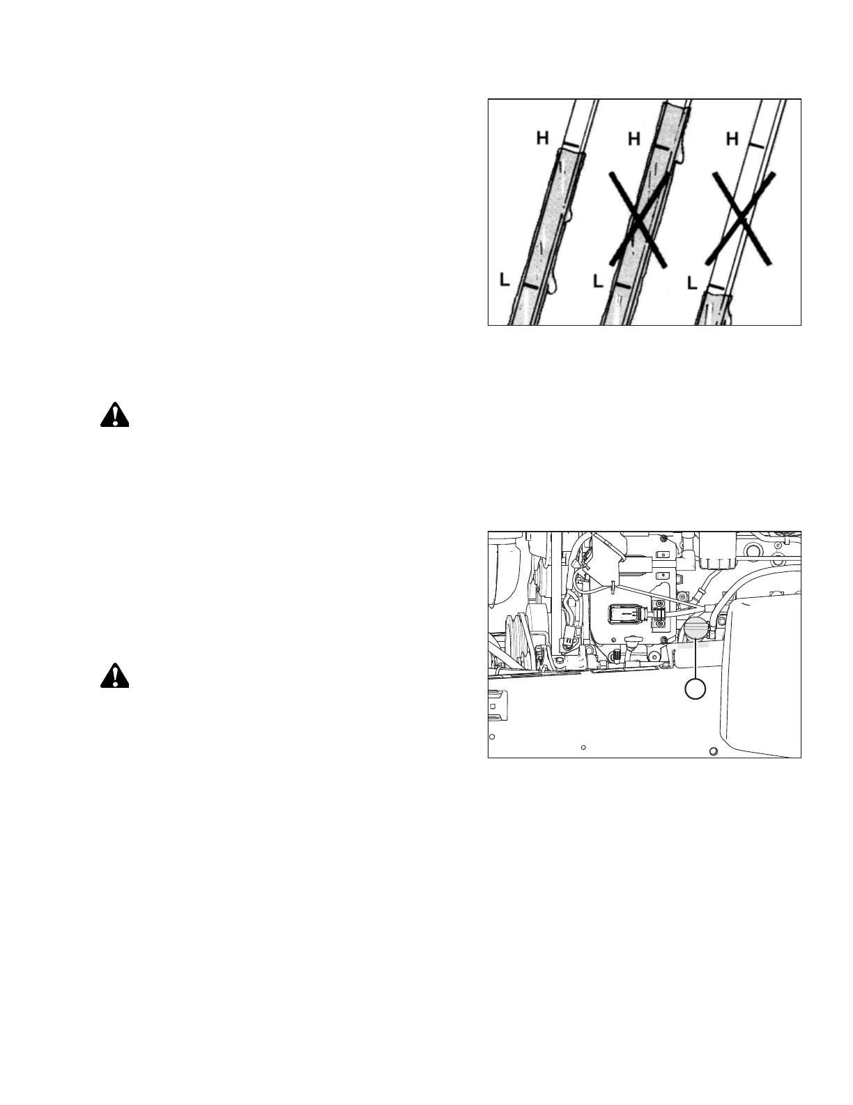
Figure 5.49: Engine Oil Level on Dipstick
6. Remove the dipstick again and check the oil level. The oil
level should be between the LOW (L) and HIGH (H) marks
on the dipstick. If the oil level is below the LOW mark, you
will need to add oil.
NOTE:
Adding 1.9 liters (2 U.S. quarts) of engine oil will raise the
level from LOW to HIGH. To add oil, refer to Adding Engine
Oil, page 271.
7. Replace the dipstick and turn it clockwise to lock it.
Adding Engine Oil
DANGER
To prevent bodily injury or death from the unexpected startup of the machine, always stop the engine and remove the
key from the ignition before leaving the operators seat for any reason.
1. Open the hood. For instructions, refer to 5.3.1 Opening Hood, page 239.
2. Shut down the engine, and remove the key from the ignition.
1012638
A
Figure 5.50: Oil Filler Cap
3. Clean the area around filler cap (A) and remove it by
turning the cap counterclockwise.
4. Carefully pour in 11 L (11.6 US qts) of new oil. A funnel is
recommended to avoid spillage. Refer to 5.1.4 Lubricants,
Fluids, and System Capacities, page 232 for oil
specifications.
CAUTION
Do NOT fill above the HIGH mark.
5. Replace oil filler cap (A) and turn it clockwise until snug.
6. Check the oil level. For instructions, refer to 5.7.1 Checking Engine Oil Level, page 270.
7. Close the hood. For instructions, refer to 5.3.2 Closing Hood, page 240.
5.7.2 Fuel/Water Separator
A fuel/water separator is incorporated into the primary fuel filter. The separator is equipped with a drain and a sensor that
detects water in the fuel and displays an alert on the HPT display. Drain the water and sediment from the separator daily or
at any time the Water In Fuel (WIF) light illuminates on the HPT display.
To remove water from the fuel system, refer to Removing Water from Fuel System, page 272.
MAINTENANCE AND SERVICING

Table of Contents

Related product manuals