EasyManua.ls Logo

REXROTH EFC 3600 - Grounding Screw Removal of Internal EMC Filter

REXROTH EFC 3600
274 pages
Print Icon
To Next Page IconTo Next Page
To Next Page IconTo Next Page
To Previous Page IconTo Previous Page
To Previous Page IconTo Previous Page
Loading...
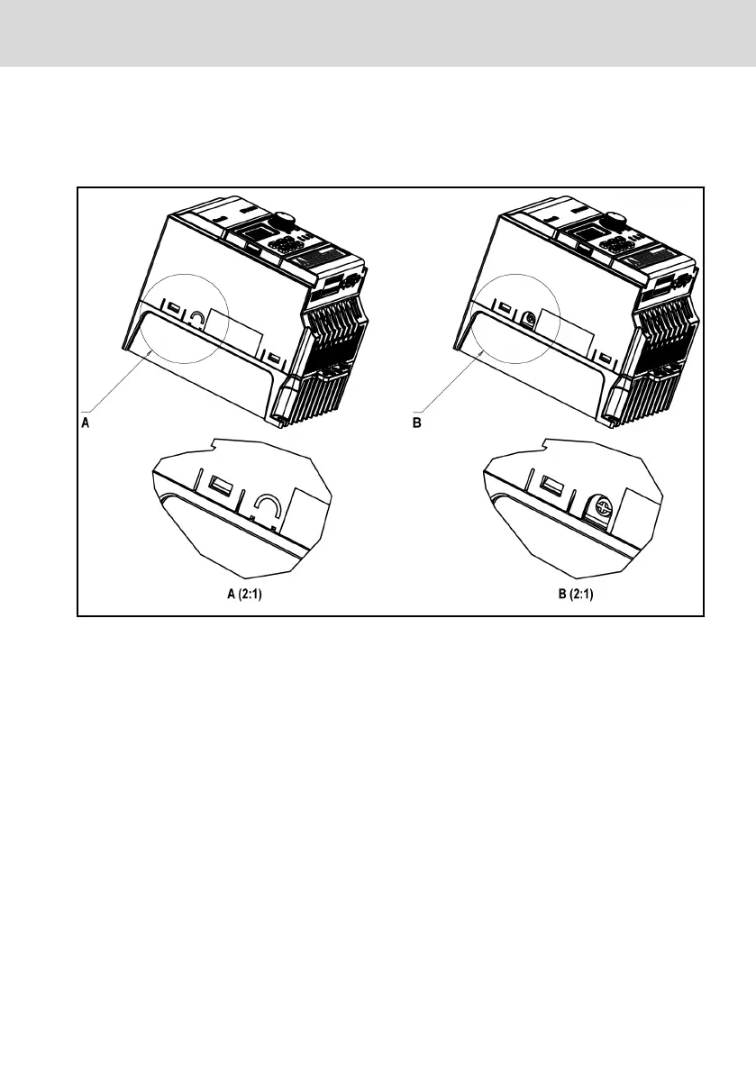
5.11 Grounding Screw Removal of Internal EMC Filter
Step 1: Cut and remove the U-shape area as A indicated in the figure below.
Step 2: Remove the screw as B indicated in the figure below.
Fig. 5-10: Grounding screw location of internal EMC filter
EFC 3600 Bosch Rexroth AG
Mounting and Installation
DOK-RCON03-EFC-3600***-IT03-EN-P
31/259

Table of Contents

Related product manuals