EasyManua.ls Logo

Dieci Pegasus - Road Use

Dieci Pegasus
320 pages
Print Icon
To Next Page IconTo Next Page
To Next Page IconTo Next Page
To Previous Page IconTo Previous Page
To Previous Page IconTo Previous Page
Loading...
Safety standards
B/14
Model E.T. PEGASUS
ROAD USE
- CAUTION -
BEFORE DRIVING THE MACHINE ON THE ROAD, ENSU-
RE YOU ARE COMPLYING WITH THE LEGISLATION AND
STANDARDS IN EFFECT IN THE COUNTRY OF USE.
THE REGULATIONS FOR DRIVING ON PUBLIC ROADS
ARE STATED IN THE REGISTRATION CERTIFICATE.
- Use dimmed headlamps even during daylight hours and
on roads where there is no need to use visual signalling
devices or lights.
- Check the headlamps, the indicator lights and the
windscreen wipers are clean and working properly.
- CAUTION -
ENSURE THE REAR-VIEW MIRRORS ARE POSITIONED
CORRECTLY.
BEWARE: YOUR PERCEPTION CAN BE DISTORTED BY
THE REAR-VIEW MIRRORS; OBJECTS MAY BE CLOSER
THAN THEY APPEAR.
ROAD USE (INSTRUCTIONS)
- Realign the turret with the lower chassis.
- Act on the levelling control switch to level the machine
chassis with the axles.
- Use the locking device to lock hydraulic rotation.
- Ensure all the stabilisers are perfectly retracted and raised.
- Close the telescopic boom completely.
Lower the main boom completely and raise it slightly
(300 mm off the ground).
- Ensure the lights are working correctly before going onto
public roads. Ensure the slow vehicle revolving light
signal is installed and working; keep the revolving light
switched on day and night.
- Balance the wheels. IT IS COMPULSORY to set the ste-
ering as shown in the machine manual and to block the
selection lever using the relevant device. In Italy, select
4 wheel steering mode; on public roads do not use cros-
swise or 2-wheel steering.
- Ensure there is enough fuel.
- Assemble the accessories required for road use, depen-
ding on the country where the machine is being used.
- Place an oversize load sign on the head of the boom be-
fore taking the machine on public roads.
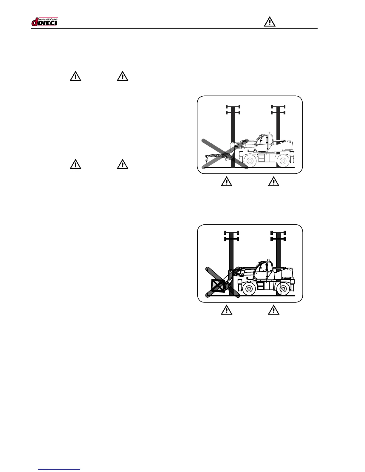
- Always evaluate the itinerary to be covered, including
overhead structures (such as bridges, underpasses,
etc.) that could be damaged by the machine.
- In some countries, it is compulsory to have and use a
wedge for the wheels when the vehicle is at a standstill.
- Ensure your machine complies with local legislation as
regards the presence of a number plate when driving on
roads during the day and at night.
- CAUTION -
IT IS FORBIDDEN TO DRIVE THE MACHINE WITH
ATTACHMENTS FASTENED ON THE FORK HOLDER
PLATE EXCEPT FOR THOSE PERMITTED BY THE
STANDARDS IN EFFECT IN THE COUNTRY WHERE
THE MACHINE IS BEING USED.
- CAUTION -
DO NOT USE THE MACHINE ON PUBLIC ROADS WHEN
CARRYING A LOAD.

Table of Contents

Other manuals for Dieci Pegasus