EasyManua.ls Logo

Hakko Electronics Monitouch V9 Series - Page 351

Hakko Electronics Monitouch V9 Series
430 pages
Print Icon
To Next Page IconTo Next Page
To Next Page IconTo Next Page
To Previous Page IconTo Previous Page
To Previous Page IconTo Previous Page
Loading...
16-98 16. Fuji Electric
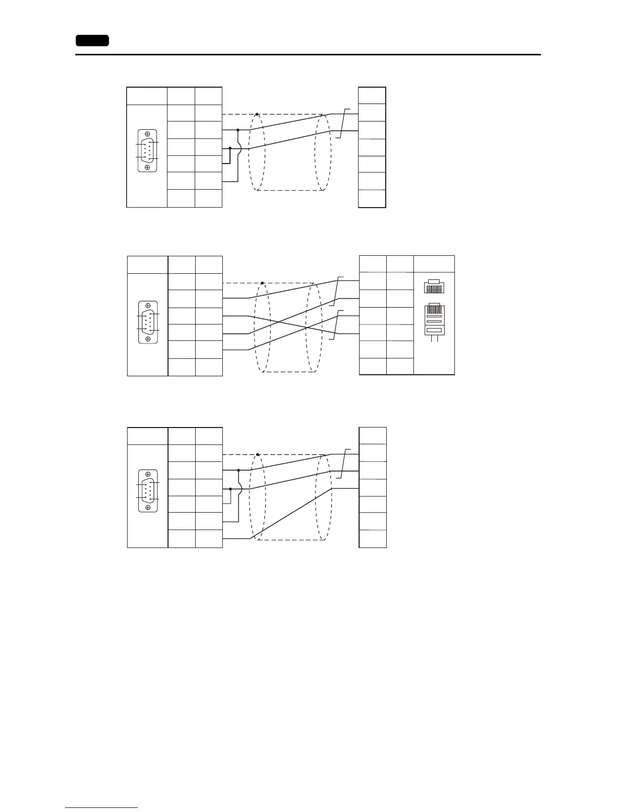
Wiring diagram 16 - C4
Wiring diagram 17 - C4
Wiring diagram 18 - C4
Name Name
1
No.
2
3
4
-RD
-SD
+SD
5SG
+RD
FG
TRX2
TRX1
Dsub 9 (Male)
CN1
5
9
1
6
* Use shielded twist-pair cables.
Name
1
No.
2
3
4
-RD
-SD
+SD
5SG
+RD
FG
Dsub 9 (Male)
CN1
PLC
*RXD
*TXD
RXD
TXD 3
No.Name
4
5
6
RJ45
5
9
1
6
12345678
* Use shielded twist-pair cables.
SG
Name Name
1
No.
2
3
4
-RD
-SD
+SD
5SG
+RD
FG
D-
D+
Dsub 9 (Male)
CN1
5
9
1
6
* Use shielded twist-pair cables.

Table of Contents

Other manuals for Hakko Electronics Monitouch V9 Series

Related product manuals