EasyManua.ls Logo

Hakko Electronics Monitouch V9 Series - 18.1.6 Wiring Diagrams

Hakko Electronics Monitouch V9 Series
430 pages
Print Icon
To Next Page IconTo Next Page
To Next Page IconTo Next Page
To Previous Page IconTo Previous Page
To Previous Page IconTo Previous Page
Loading...
18-10 18. GE Fanuc
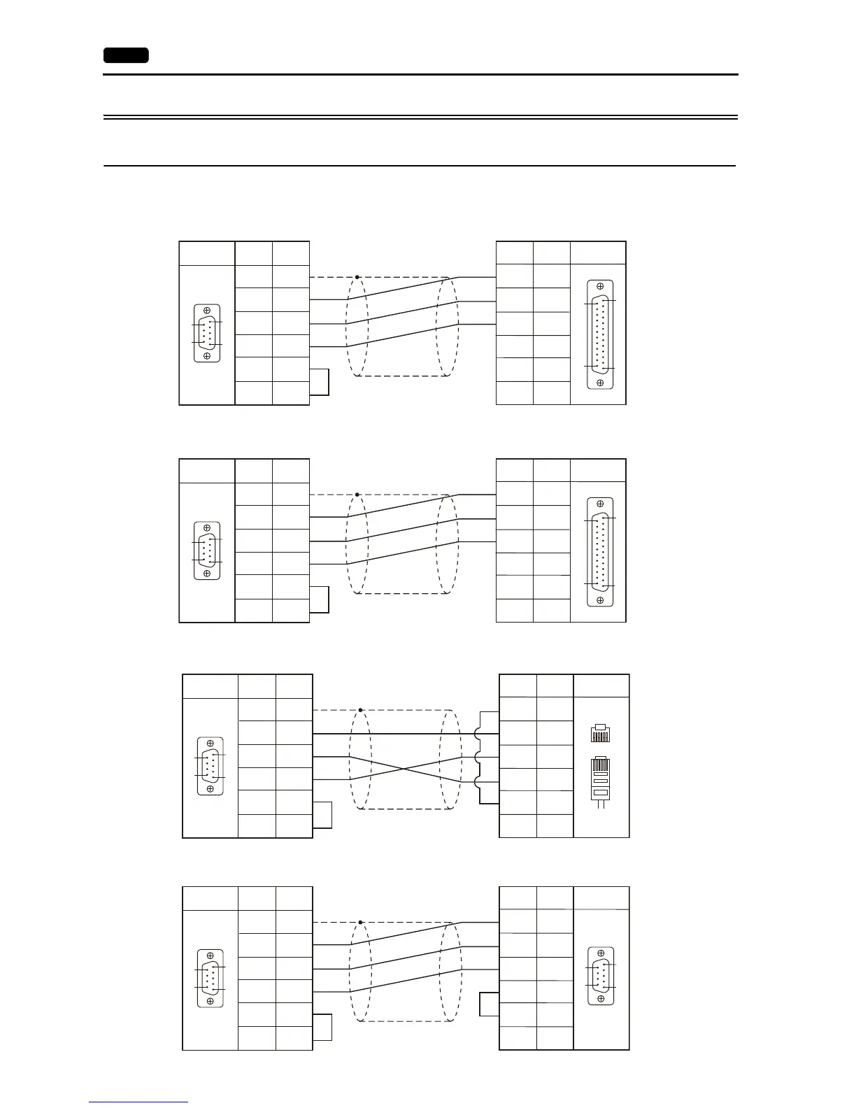
18.1.6 Wiring Diagrams
When Connected at CN1:
RS-232C
Wiring diagram 1 - C2
Wiring diagram 2 - C2
Wiring diagram 3 - C2
Wiring diagram 4 - C2
PLC
RD
SG
SD 2
No.
3
7
No.
Dsub 9 (Male)
Dsub 25 (Male)
2
3
5
7
8
RD
SD
SG
RS
CS
FG
CN1
Name
Name
5
9
1
6
1
14
13
25
* Use shielded twist-pair cables.
PLC
RD
SG
SD 14
No.
16
7
No.
Dsub 9 (Male)
Dsub 25 (Male)
2
3
5
7
8
RD
SD
SG
RS
CS
FG
CN1
Name
Name
5
9
1
6
1
14
13
25
* Use shielded twist-pair cables.
PLC
TXD
SG
CTS 1
No.
2
3
No.
Dsub 9 (Male)
RJ - 11
2
3
5
7
8
RD
SD
SG
RS
CS
FG
CN1
Name
Name
5
6
RXD
RTS
5
9
1
6
123456
* Use shielded twist-pair cables.
PLC
RXD
SG
TXD 2
No.
3
5
No.
Dsub 9 (Male)
Dsub 9 (Male)
2
3
5
7
8
RD
SD
SG
RS
CS
FG
CN1
Name
Name
7
8
RTS
CTS
5
9
1
6
5
9
1
6
* Use shielded twist-pair cables.

Table of Contents

Other manuals for Hakko Electronics Monitouch V9 Series

Related product manuals