EasyManua.ls Logo

LDI DIGISONDE 4D - Page 284

Default Icon
321 pages
Print Icon
To Next Page IconTo Next Page
To Next Page IconTo Next Page
To Previous Page IconTo Previous Page
To Previous Page IconTo Previous Page
Loading...
LDI Intellectual Property.
Not for secondary distribution or replication, in part or entirety.
DIGISONDE-4D
SYSTEM MANUAL
VERSION 1.2.11
SECTION 6 - MAINTENANCE 6-5
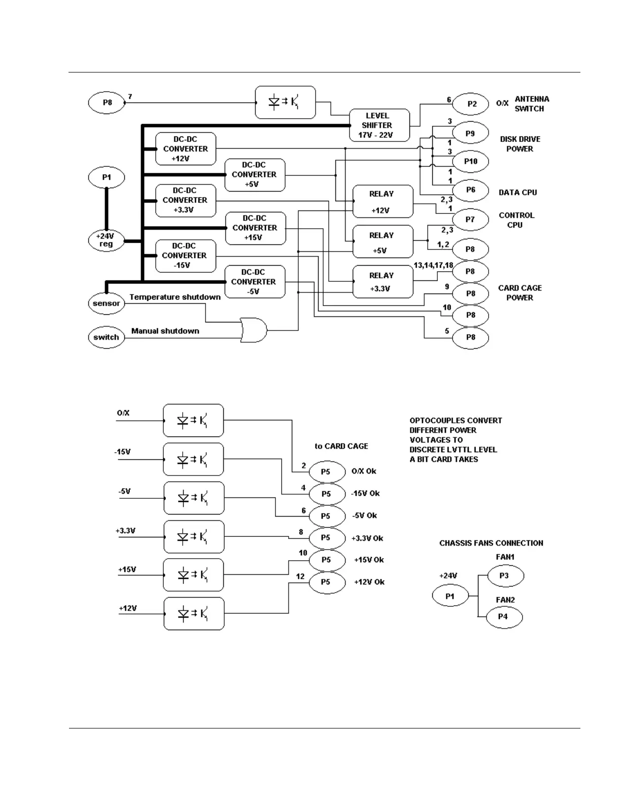
Figure 6-2: Power Management (System Power)
Figure 6-3: Power Management (BIT Card Interface)

Table of Contents