EasyManua.ls Logo

MacDon R85 - 5.3.8 Rotary Deflectors

MacDon R85
220 pages
Print Icon
To Next Page IconTo Next Page
To Next Page IconTo Next Page
To Previous Page IconTo Previous Page
To Previous Page IconTo Previous Page
Loading...
214366 149 Revision A
Replacing Nut Shield
DANGER
To avoid bodily injury or death from unexpected startup of the machine, always stop the engine and
remove the key from the ignition before leaving the operators seat for any reason.
1. Raise the header fully.
2. Stop the engine and remove the key.
3. Engage header safety props. Refer to 3.3 Engaging and Disengaging Header Safety Props, page 28.
4. Open the cutterbar doors. Refer to 3.5 Cutterbar Doors, page 33.
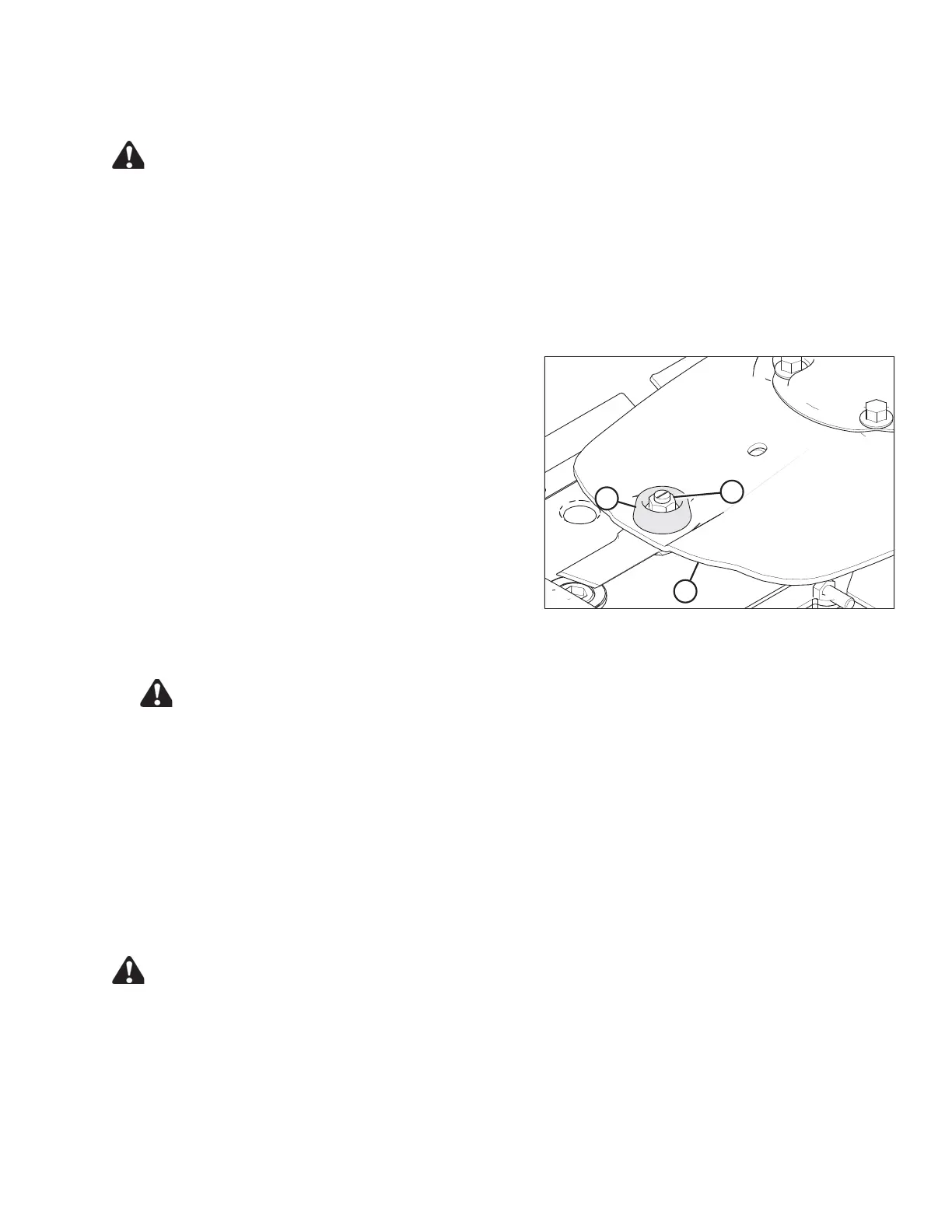
1014138
A
B
C
Figure 5.29: Nut Shield
5. Remove disc (C). Refer to 5.3.3 Removing a Cutterbar
Disc, page 138.
6. Remove nut shield by loosening nut (A) and removing
nut shield (B) from disc (C).
IMPORTANT:
Do NOT remove cutterblade bolt unless it or the blade
is being replaced.
7. Locate new nut shield (B) on disc (C) and align with
existing cutterblade bolt. Install nut (A).
8. Tighten nut. Torque to 135 Nm (100 lbf·ft ).
9. Reinstall disc (D) on spindle. Refer to 5.3.4 Installing a
Cutterbar Disc, page 139.
10. Remove block of wood (if used).
WARNING
Ensure cutterbar is completely clear of foreign objects. These objects can be ejected with
considerable force when the machine is started and may result in serious injury or machine damage.
11. Close the cutterbar doors. Refer to 3.5 Cutterbar Doors, page 33.
5.3.8 Rotary Deflectors
The rotary cage deflectors are designed to deliver the cut material from the ends of the cutterbar into the auger and
to assist in maintaining an even flow of crop into the conditioner.
Rotary deflectors should be checked daily for damage or wear.
Inspecting Rotary Deflectors
DANGER
To avoid bodily injury or death from unexpected startup of the machine, always stop the engine and
remove the key from the ignition before leaving the operators seat for any reason.
1. Lower the header fully.
2. Stop the engine and remove the key.
MAINTENANCE AND SERVICING

Table of Contents

Other manuals for MacDon R85

Related product manuals