EasyManua.ls Logo

Mack CSM 2010 - Page 77

Default Icon
232 pages
Print Icon
To Next Page IconTo Next Page
To Next Page IconTo Next Page
To Previous Page IconTo Previous Page
To Previous Page IconTo Previous Page
Loading...
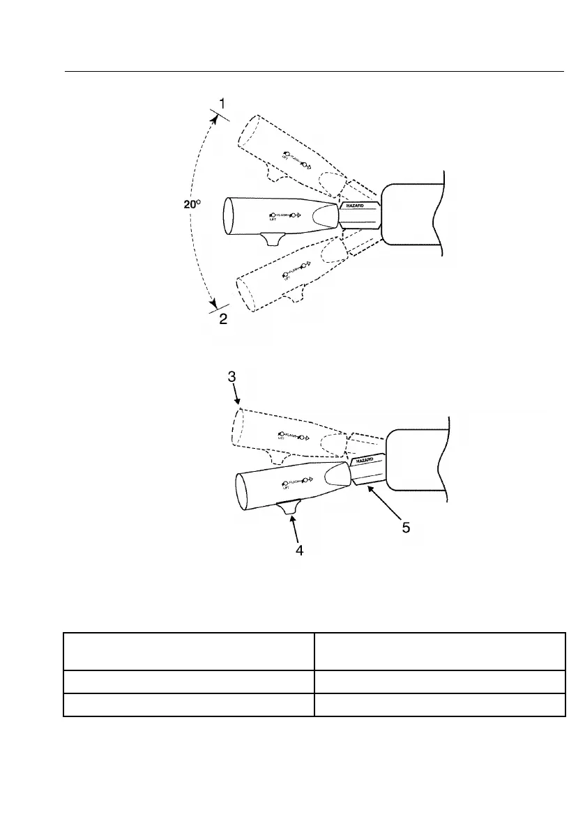
INSTRUMENTSANDCONTROLS69
W3061333
1.HandleinRightturnpositionandcancel
ofhazardwarning.
2.HandleinLeftturnpositionandcancel
positionofhazardwarning.
3.Lifthandleforheadlightdimmer.4.PushforcourtesyashingofHighbeams.
5.Pullforwarninghazardposition.

Table of Contents

Related product manuals