EasyManua.ls Logo

Micros Systems PCWS 2015 - Cash Drawers

Micros Systems PCWS 2015
178 pages
Print Icon
To Next Page IconTo Next Page
To Next Page IconTo Next Page
To Previous Page IconTo Previous Page
To Previous Page IconTo Previous Page
Loading...
PCWS 2015 Setup Guide - 2nd Edition A-7
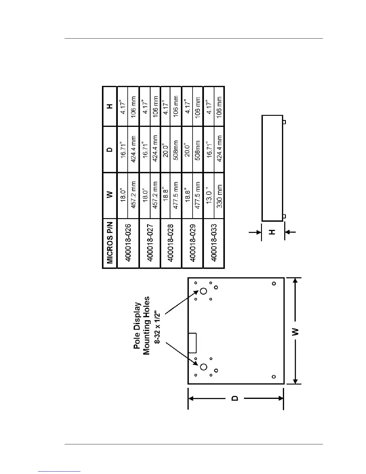
Equipment Dimensions
Cash Drawers
Cash Drawers

Table of Contents