EasyManua.ls Logo

Panasonic DP-C305 - Staple Position; Stacked Paper Alignment

Panasonic DP-C305
920 pages
Print Icon
To Next Page IconTo Next Page
To Next Page IconTo Next Page
To Previous Page IconTo Previous Page
To Previous Page IconTo Previous Page
Loading...
756
DP-C405/C305/C265
FEB 2008Ver. 1.1
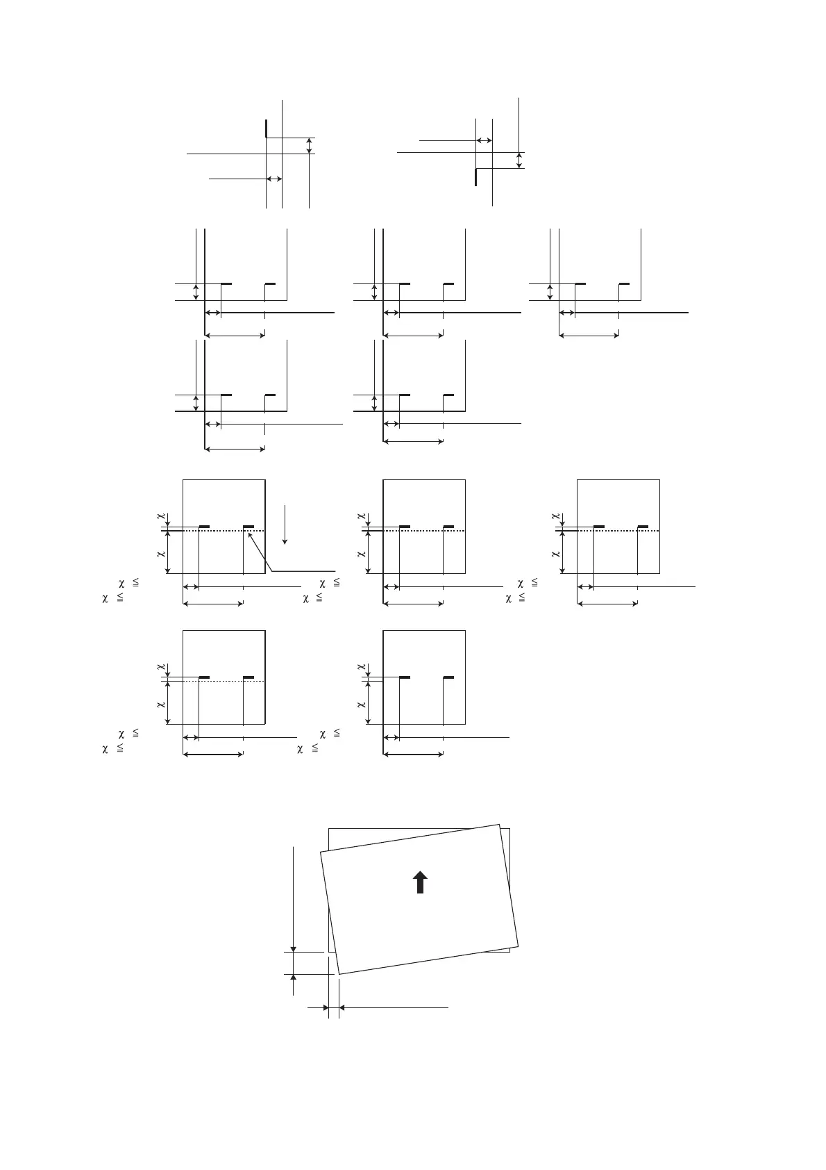
Staple Position
Fig. 1-001
Stacked Paper Alignment
Fig. 1-002
0.2±0.08 in
(5±2 mm)
0.18±0.08 in
(4.5±2 mm)
0.2±0.08 in
(5±2 mm)
A3 or A4
0.2±0.08 in
(5±2 mm)
0.18±0.08 in
(4.5±2 mm)
Front 1-point stapling
Middle 2-point stapling
Middle 2-point stapling (w/ saddle in use)
Rear 1-point stapling
3.27±0.16 in (83±4 mm)
7.99±0.16 in (203±4 mm)
0.2±0.08 in
(5±2 mm)
A4-R
1.56±0.16 in (39.5±4 mm)
6.28±0.16 in (159.5±4 mm)
0.2±0.08 in
(5±2 mm)
LDR
or LTR
2.92±0.16 in (74.2±4 mm)
7.65±0.16 in (194.2±4 mm)
0.2±0.08 in
(5±2 mm)
LGL or LTR-R
8.5 FLS
1.67±0.16 in (42.5±4 mm)
6.4±0.16 in (162.5±4 mm)
0.2±0.08 in
(5±2 mm)
B4 or B5
2.48±0.16 in (63±4 mm)
7.2±0.16 in (183±4 mm)
A3
3.27±0.16 in (83±4 mm)
±1.5 mm
1
210±2.0 mm2
148.5±2.0 mm2
7.99±0.16 in (203±4 mm)
A4-R
1.56±0.16 in (39.5±4 mm)
6.28±6.16 in (159.5±4 mm)
LDR
2.92±0.16 in (74.2±4 mm)
7.65±0.16 in (194.2±4 mm)
LTR-R
1.67±0.16 in (42.5±4 mm)
6.4±0.16 in (162.5±4 mm)
B4
2.48±0.16 in (63±4 mm)
12
12
7.2±0.16 in (183±4 mm)
Transfer direction
Folding
position
182±2.0 mm2
12
±1.5 mm
1
±1.5 mm
1
±1.5 mm1
216±2.0 mm2
12
±1.5 mm1
139.7±2.0 mm2
12
1.57 in max.(40 mm)
0.79 in max.(20 mm)
Delivery Direction

Table of Contents

Related product manuals