EasyManua.ls Logo

Panasonic DP-C305 - Page 788

Panasonic DP-C305
920 pages
Print Icon
To Next Page IconTo Next Page
To Next Page IconTo Next Page
To Previous Page IconTo Previous Page
To Previous Page IconTo Previous Page
Loading...
788
DP-C405/C305/C265
FEB 2008Ver. 1.1
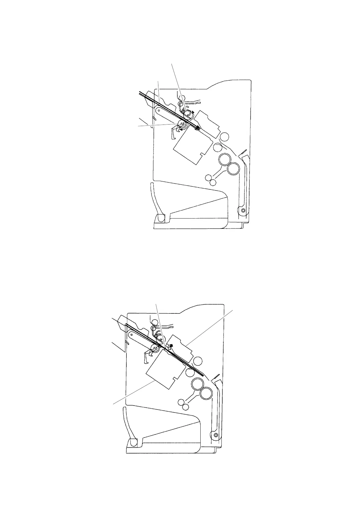
a. Paper Feed-in
After being aligned on the Processing Tray, a stack of sheets is sandwiched between the Stack
Delivery Rollers. As the Stack Delivery Rollers rotate, the stack is fed toward the Saddle Unit.
Fig. 2-037
b. Stitching
When the center of the paper stack (stitching position) reaches the stapler's staple position, the
Stapler stitches the paper stack.
When only one sheet is fed from the Host Machine, the next step (stack feed) is performed without
performing the stitching operation.
Fig. 2-038
Stack Delivery Roller (Upper)
Paper Stack
Stack Delivery Roller
(Lower)
Staple
Stapler (Lower)
Stapler (Upper)

Table of Contents

Related product manuals