EasyManua.ls Logo

Siemens SINAMICS S120 - Page 135

Siemens SINAMICS S120
570 pages
To Next Page IconTo Next Page
To Next Page IconTo Next Page
To Previous Page IconTo Previous Page
To Previous Page IconTo Previous Page
Loading...
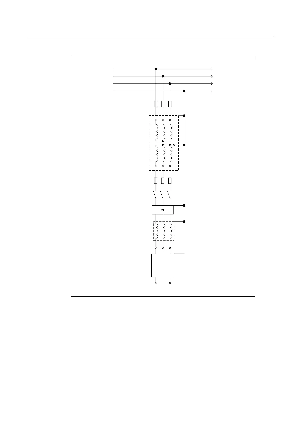
Line Connection Booksize
2.13 Line connection variants
Booksize power units
Manual, (GH2), 06/2008, 6SL3097-2AC00-0BP6
135
/
/
3(
/
:9
8
'&3
'&1
1
)XVHV
/LQHUHDFWRU
/LQH0RGXOH
)XVHV
,VRODWLQJWUDQVIRUPHU
/LQHFRQWDFWRU
RSWLRQDO
/LQHILOWHU
RSWLRQDO
2WKHU
ORDGV
)XVHV
)XVHV
,VRODWLQJWUDQVIRUPHU
/LQHFRQWDFWRU
RSWLRQDO
%DVLF
/LQH)LOWHU
RSWLRQDO
$FWLYH
,QWHUIDFH
0RGXOH
$FWLYH
/LQH
0RGXOH
Figure 2-51 Isolating transformer

Table of Contents

Other manuals for Siemens SINAMICS S120

Related product manuals