EasyManua.ls Logo

TOHATSU BFT75A - Page 52

TOHATSU BFT75A
609 pages
Print Icon
To Next Page IconTo Next Page
To Next Page IconTo Next Page
To Previous Page IconTo Previous Page
To Previous Page IconTo Previous Page
Loading...
2-33
dummyheaddummyhead
SERVICE INFORMATION
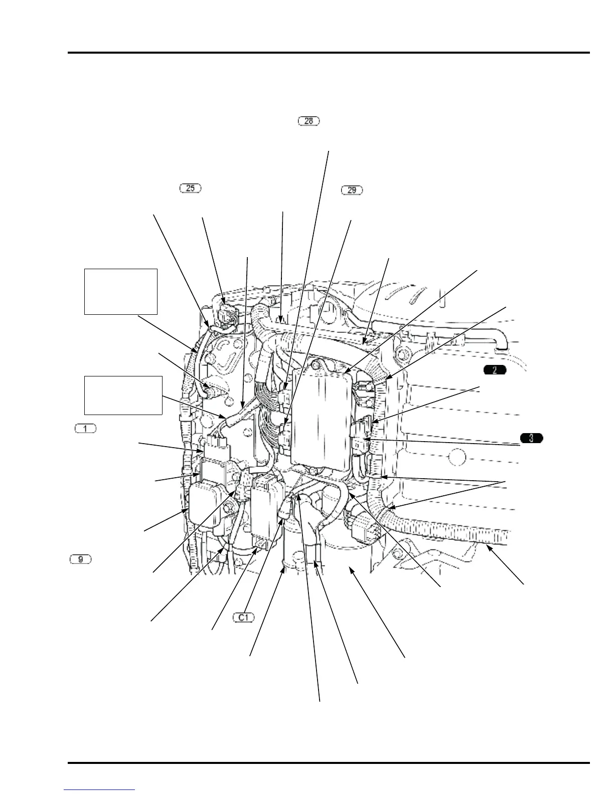
HO2S 4P
CONNECTOR
STATOR HARNESS
ELECTRONIC
PARTS CASE
ECM 36P
CONNECTOR B (Black)
HARNESS
BAND CLIP
ENGINE SPEED CHECK
2P CONNECTOR (Blue)
DLC 4P (Red)
MAIN HARNESS
STARTER MOTOR
STARTER SOLENOID
CLAMP
The protector
tube must
contact the
HO2S wire.
HO2S WIRE
HO2S
70 A FUSE
BOX
FUSE CABLE
STARTER CABLE (+)
PGM-FI/MAIN RELAY
WHITE WIRE
FUSE BOX
FUSE CABLE
ECM 36P
CONNECTOR A (Gray)
ECM
HARNESS
BAND CLIP
POWER TRIM/TILT
SWITCH 3P
CONNECTOR
STATOR 3P
CONNECTOR
REGULATOR/
RECTIFIER
HARNESS
BAND CLIP
(Except LHGX type)
Set into the clamp
of the electronic
parts case.
STATOR WIRE

Table of Contents