EasyManua.ls Logo

TOHATSU BFT75A - Page 53

TOHATSU BFT75A
609 pages
Print Icon
To Next Page IconTo Next Page
To Next Page IconTo Next Page
To Previous Page IconTo Previous Page
To Previous Page IconTo Previous Page
Loading...
2-34
dummyheaddummyhead
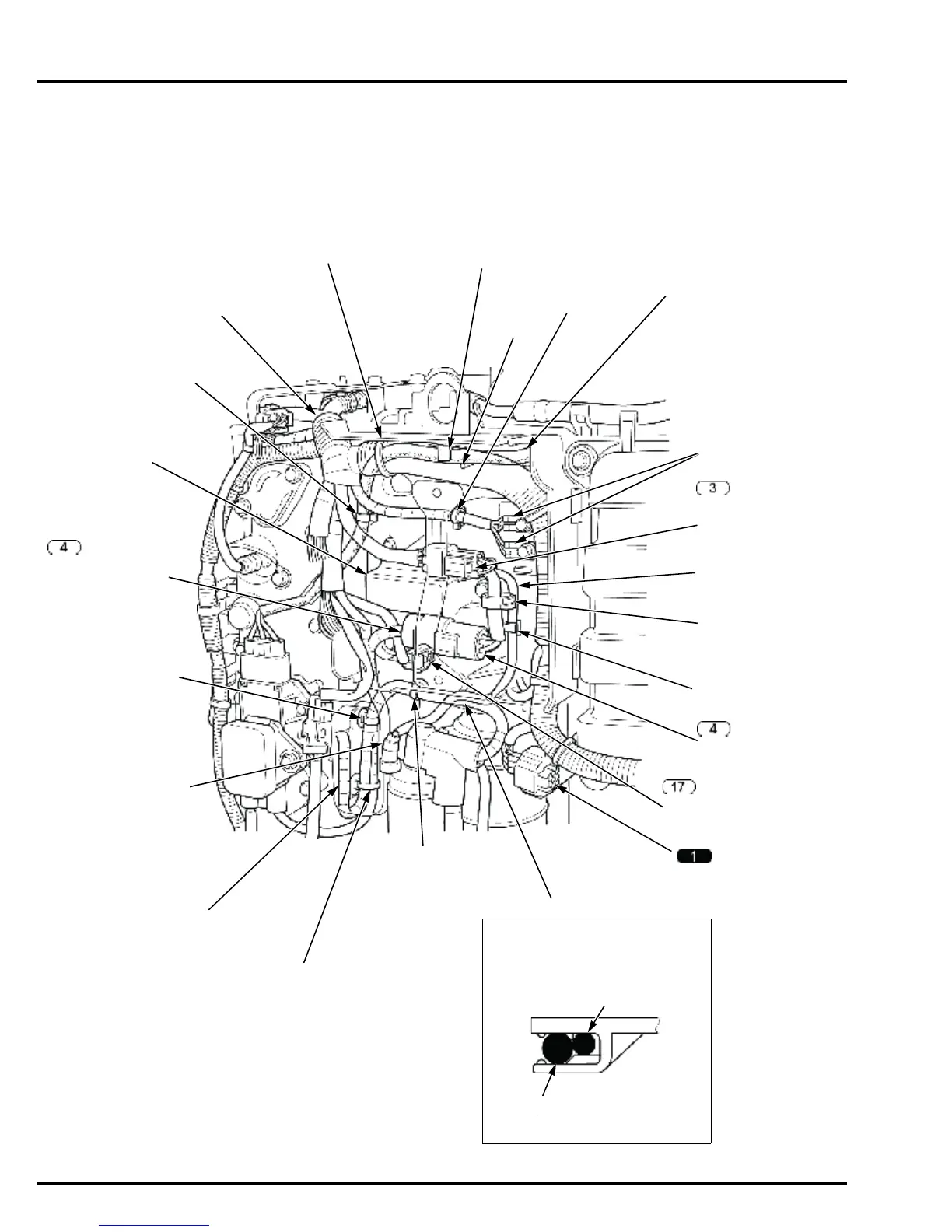
SERVICE INFORMATION
HARNESS
BAND CLIP
CLAMP
PGM-FI/MAIN
RELAY
FUSE BOX 5P
CONNECTOR
LUG
STATOR HARNESS
GROUND
CABLE
PGM-FI/MAIN RELAY
6P CONNECTOR
ECT SENSOR 2
2P CONNECTOR
FUSE CABLE
Set into the clamp of the electronic
parts case as shown.
NMEA 2000 6P
CONNECTOR
HARNESS
BAND CLIP
PGM-FI/MAIN RELAY
WHITE WIRE
WIRE HARNESS
CLIP
CLAMP
PGM-FI/MAIN RELAY
5P CONNECTOR
PGM-FI/MAIN RELAY
WHITE WIRE
FUSE CABLE
HARNESS
BAND CLIP
FUSE CABLE
PGM-FI/MAIN RELAY
WHITE WIRE
HARNESS
BAND CLIP
MAIN HARNESS
HARNESS
BAND CLIP
HARNESS
BAND CLIP

Table of Contents