EasyManua.ls Logo

TransCore encompass 4 - Mirror Post Attached to Headliner

TransCore encompass 4
306 pages
Print Icon
To Next Page IconTo Next Page
To Next Page IconTo Next Page
To Previous Page IconTo Previous Page
To Previous Page IconTo Previous Page
Loading...
Choosing, Installing, and Removing Tags
3-17
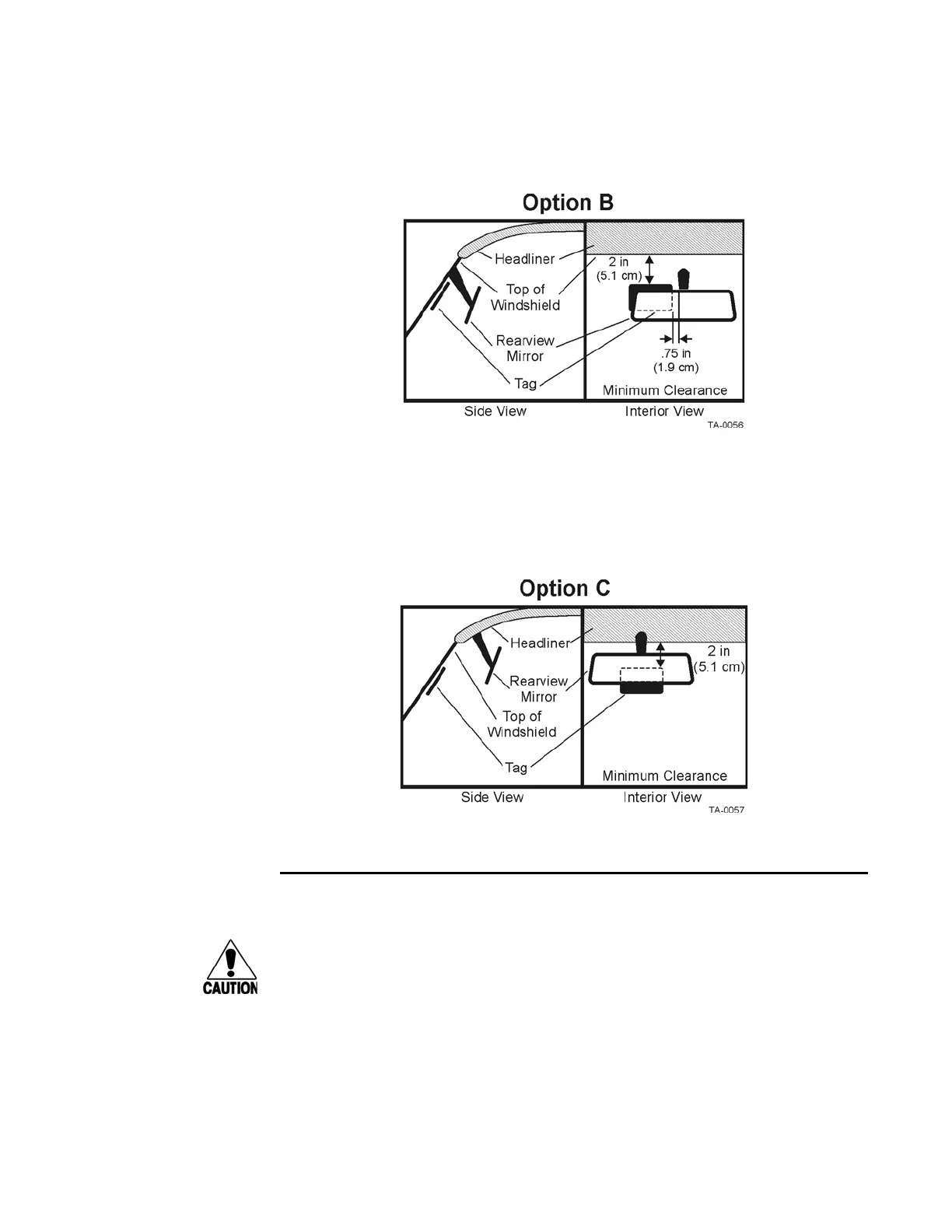
Figure 3-17 eGo Windshield Sticker Tag Placement Option B
Mirror Post Attached to Headliner
Choose placement Option C if the mirror post is attached to the headliner as shown in
Figure 3-18. If the up
per portion of the windshield is tinted with an aftermarket
conductive tint, place the tag two inches (5 cm) below the tinte
d area.
Figure 3-18 eGo Windshield Sticker Tag Placement Option C
Mounting the eGo Windshield Sticker Tag
Caution
Confirm that the outside temperature is above 50°F
(10°C). The sticker tag may not
adhere correctly if the temperature is below this temperature.
To install the eGo WST
1. Determine the tag installation location for
the vehicle using the placement
guidelines in the section “Positioning eGo Windshield Sticker Tags” on page 3-
16.

Table of Contents

Other manuals for TransCore encompass 4