EasyManua.ls Logo

ABB ACS6000 - Page 111

ABB ACS6000
278 pages
Print Icon
To Next Page IconTo Next Page
To Next Page IconTo Next Page
To Previous Page IconTo Previous Page
To Previous Page IconTo Previous Page
Loading...
3BHS212794 E01 REV M ACS6000 USER MANUAL 111/278
05 MECHANICAL INSTALLATION
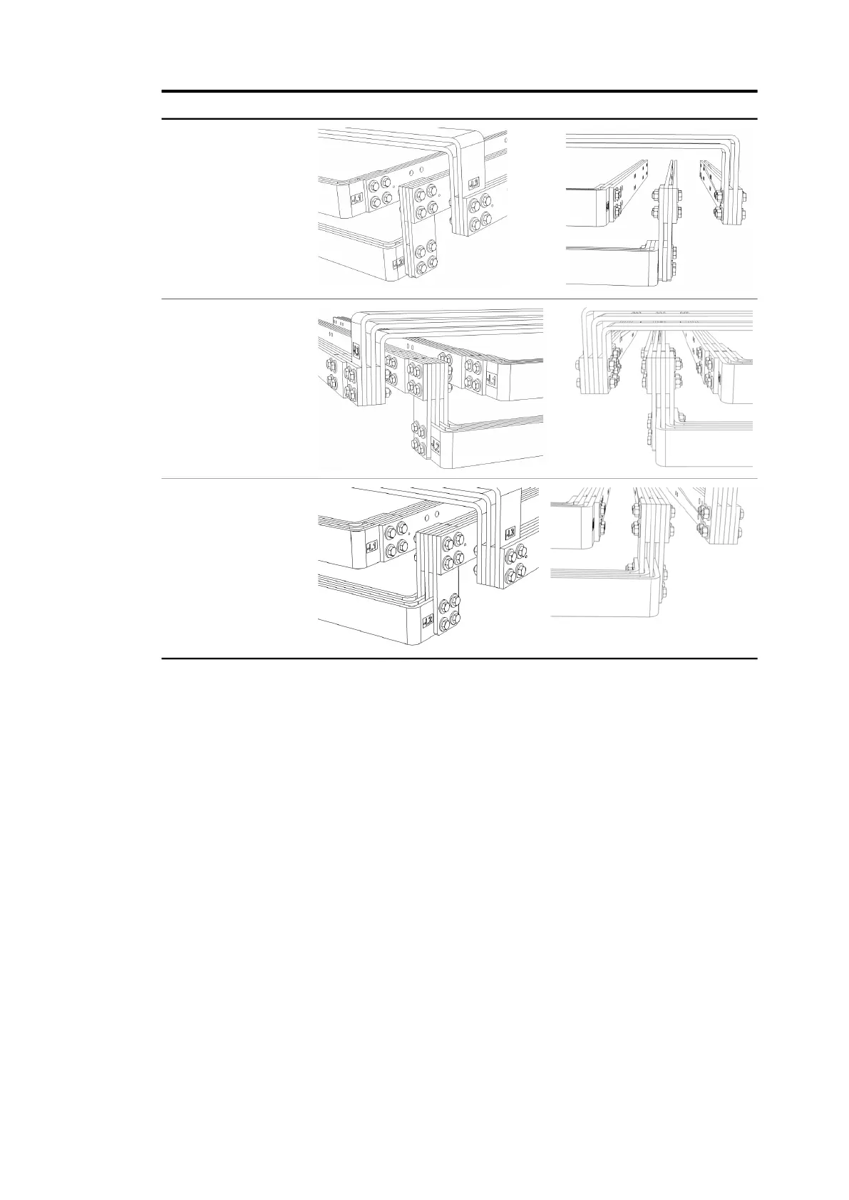
COU/TEU -
ARU/INU
ARU/INU:
- 5, 7, 9, 13
peak MVA
COU/TEU:
- 1000 mm
ARU/INU -
COU/TEU
ARU/INU:
- 12 MVA
COU/TEU:
- 1000 mm
COU/TEU -
ARU/INU
ARU/INU:
- 12 MVA
COU/TEU:
- 1000 mm
Module Busbar joints

Table of Contents

Related product manuals