EasyManua.ls Logo

Cessna 182 1978 - Page 533

Cessna 182 1978
680 pages
Print Icon
To Next Page IconTo Next Page
To Next Page IconTo Next Page
To Previous Page IconTo Previous Page
To Previous Page IconTo Previous Page
Loading...
MODEL
182
&
T182
SERIES
SERVICE
MANUAL
@
|~*1~^
*~
i-0o
lblS^-1O
6NO
czTR^P
(Mt)
YE
JUMPE!
P.
|
CLOCK
~g
:0-PCL
\
®-. ,_:
I-
f
/
: -.-..------
CLOCK
,I
'-
P
Ct
/
~
I
L
_
_1
_YJ
I
'i
£5 \ \- ·
I-
IT^g-^F 1-- -
c
IAJ
,
11ro?
I
|
0-,
V1
PA1~~~~~.1PW
COW,
:',,
;-V n
T
WIRING
DIAGRAM
O.A.,
~~,.
_
E:BATTERY
4
EXTERNAL
1/C"C
-2
/
'
r~"':POWER
SYSTEMS
^ D
P.
_-
,
C
73
07-706
10
SL:
NON
I
L
I PAE
4.(1
C
lkRk
OU
wIZASIBtZ)
ML
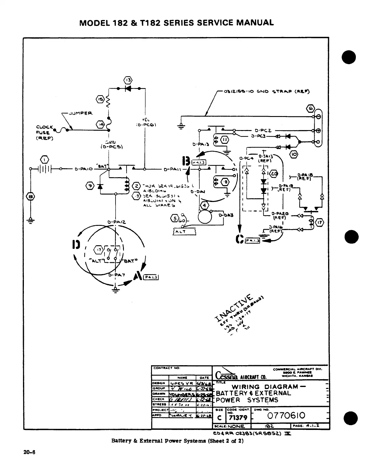
Battery
&
External
Power
Systems
(Sheet
2
of
2)
2~~0-f6f
4>:^

Table of Contents

Related product manuals