EasyManua.ls Logo

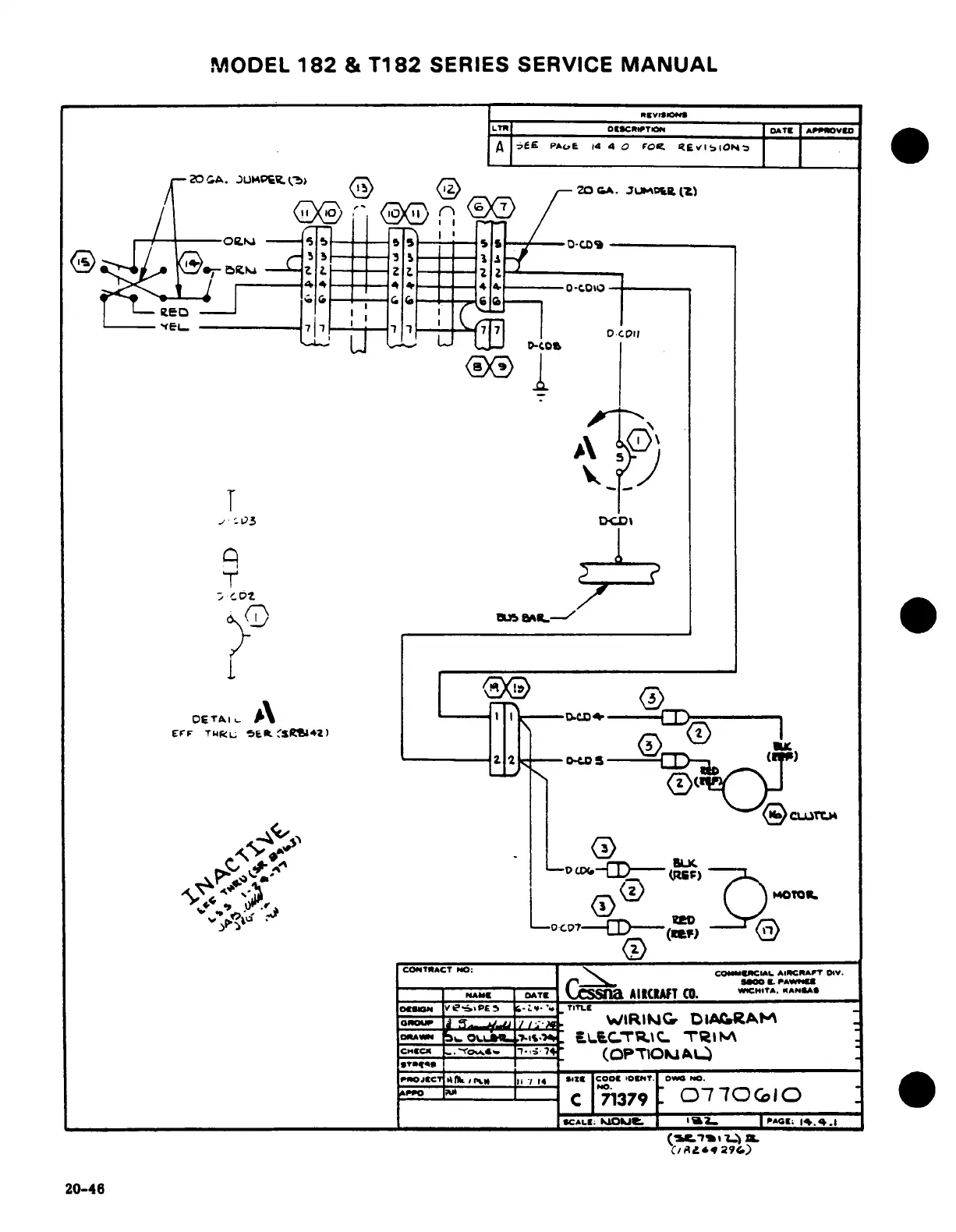
Cessna 182 1978 - Electric Trim

Cessna 182 1978
680 pages
Print Icon
To Next Page IconTo Next Page
To Next Page IconTo Next Page
To Previous Page IconTo Previous Page
To Previous Page IconTo Previous Page
Loading...
MODEL
182
&
T182
SERIES
SERVICE
MANUAL
LTRI
ODCRPTO
I
OATE
APMOV60'o
A
I
PE
PAt
id
4 3
FOrt
iEvIIO
N3
i-20
a.
@UMPE. 0
20
G.
3uM
xt(2
r -f- -ow-
- - -
»
- -
oeL.
>
a-¢
C
T
I
7 1-
ZED
ETAir
-
I'
D.C
D-0
EFrF
TrtL 5
IStR542)
~,
A,
"Z
2
'05
(o-»)
CONTRACT
O
COMRCIA
AIRCRAFT
IV
M~r ~OX1 IL
PAW
rAE
LC
T
a
AIIUFT
C.
WICHITA.
IIANAS
V<H
[ve_
PEBS
B
C
.-
^
TITLf
-- .
WIRINC.
IA"AM
CPrEC
TM
L.
tf
s
4/
(OP61
?AL
)
|
c
-
sI
z
*2ECODE
1
T
WC
[
N
sC~ul;
mok1021
C#LZ
11C
4
0-6(M
'St
-
I
20-46<0
oC^4~
Q
L.^-,
-^
Y~___ ____

Table of Contents

Related product manuals